Hálózati Hartley 3+1, ellenállásos szűréssel
Augusztusi számunkban megígértük, hogy olyan készülékeket fogunk közölni, melyeknél a kifogástalan működés mellett a rádiótechnika minden vívmányát felhasználjuk a célból, hogy a készülék a tehető legolcsóbban legyen elkészíthető. A múlt számban közölt olcsó egylámpás telepes készülék után most a legkedveltebb kapcsolásnak, a Hartleynek olyan váltóáramú kivitelét közöljük, mely kitűnő teljesítményének megtartása mellett rendkívül olcsón elkészíthető. Meg vagyunk győződve, hogy ezen készülék, melyhez a régi telepes Shielded Hartleynek minden alkatrésze felhasználható, rövidesen eléri elődjének népszerűségét.
Á Hartley-kapcsolás nagy előnye szelektivitása, méllyel a mai, zsúfolt éterben is kitűnően megállja a helyét. Azt mondhatnánk, hogy „egy” nagyfrekvencia alkalmazása esetén nincs még egy olyan kapcsolás, mely ezt megközelíthetné. A mai nagyteljesítményű lámpák mellett házi használatra az egyfokozatú kisfrekvenciaerősítő bőven elegendő hangerőt szolgáltat és így nyilvánvaló, hogy igényeinknek általában a legjobban megfelel az ilyen, Hartleykapcsolású háromlámpás készülék.
Hálózati táplálás esetén fokozott mértékben áll ez, mert az egy nagyfrekvencia és az audion igen csekély áramfogyasztása mellett csak egy nagyobb fogyasztású kisfrekvenciafokozat van; a készülék tehát amellett, hogy bőséges hangerővel bír, a lehető legkisebb fogyasztású, ami azzal a nagy előnnyel jár, hogy az anód és fűtőáramot szolgáltató részt igen takarékosan és kisméretűre készíthetjük.

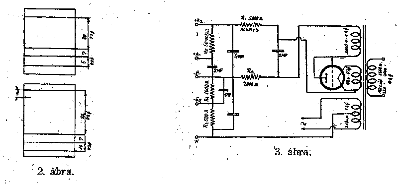
A kapcsolási vázlatot az 1. ábrán látjuk. Az antenna aperiodikusan van csatolva az első hangolótekerccsel L2, melyet 500 cmes forgókondenzátorral hangolunk. A földelés csak az antennával van fémes összeköttetésben, a készülék áramköreivel csak a C3 egy mikrofarados tömbkondenzátoron keresztül érintkezik, azért, hogy esetleges érintkezésnél rövidzárlat ne keletkezhessek. Nagyon figyelemreméltó az első fokozat rácslevezetésének összeköttetése a fűtéssel: ez két 5000 cmes tömbkondenzátor közvetítésével történik, melyek potenciométerszerűén vannak a fűtés két szára közé kapcsolva és a kettő közé a rács visszavezetés. A tömbkondenzátorok áteresztik a nagyfrekvenciájú áramokat, míg a közvetlen fémes érintkezést megakadályozzák. Az első fokozat rácsvisszavezetése ezenkívül az anódpótlóval is összeköttetésben van, ahonnan az első lámpa részére szükséges előfeszültséget nyeri; erre azért van szükség, mert kellő
negatív előfeszültség nélkül a lámpa
morogna.
Az audionkör a jól ismert Hartleykapcsolás, ahol L3 a primer, melyen az első lámpa anódárama folyik keresztül. L4 a hangolótekercs felső része, L5 pedig az alsó része, mely mint visszacsatolótekercs működik. A rácskomplex egy 150 cmes tömbkondenzátorból C4 és egy 1 megohmos ellenállásból áll. 250 cmes C5 csillámforgó a visszacsatolás szabályozására szolgál. A kisfrekvenciafokozat, vagy mint újabban helyesen nevezik, a hangerősítőfokozat transzformátoros csatolással bír és egyszerű hangszórólámpával is bőséges hangerőt ad; még nagyobb hangerőt érhetünk el háromrácsos erősítőlámpával, ami minden változtatás nélkül alkalmazható, mindössze a segédrácsot össze kell kötnünk a nagy anódfeszültséggel.
A tekercsek készítése.
A készülék tekercsei igen kisméretűek ennek kétféle célja van; egyrészt a kis tekercsek csekély egymásra hatása folytán egymáshoz közel elhelyezhetők árnyékolás nélkül is, másrészt kevesebb helyet foglalnak el. Mindkét körülmény a készülék kisebb méreteire és olcsóbb elkészíthetésére vezet. Megjegyezzük azonban, hogy aki rendes nagyságú tekercsekkel kívánná elkészíteni a készüléket, azt minden további nélkül megteheti, csakhogy ekkor megfelelően nagyobb alapdeszkát kell vennie, hogy elegendő helye legyen a tekercsek elhelyezésére.

A tekercseket 4 cm átmérőjű bakelit vagy celluloid, esetleg papírhengerre készítjük. Az összes tekercsek 0,2 mm vastag, 2szer selyemmel szigetelt rézdrótból készülnek. A tekercsek méretei a 2. és % 3. ábrán láthatók.
Ami a menetszámokat illeti, azt nem adjuk meg, ehelyett az ábrán feltüntetjük az egyes tekercsek hosszát. Ez az újítás első pillanatra különös, de valóságban nagyon célszerű, mert kényelmes: nem kell a meneteket számolni, hanem egyszerűen a tekercshosszat lemérni. Ez a módszer teljesen bevált, csak egy feltétele van, hogy pontosan az előírt drótvastagságot és selyemszigetelést használjuk.
A rádiórész szerelése.
A rádiórészben a fűtővezetékeken kezdjük, melyeket összesodorva vezetünk az egyes lámpákhoz. Az összesodort vezetékek ugyanis egymás indukcióját lerontják, és így zúgást nem adhatnak át. Az audion és a többi lámpa rácsvezetéke rendkívül érzékeny lévén, itt még arra is kell ügyelnünk, hogy ezeket ne vigyük közel a fűtővezetékekhez és ahol kell, csak keresztben. Ami az elhelyezést illeti, a huzalozási rajzot tartsuk lehetőleg be; ha azonban valaki saját elgondolását kívánja követni, ügyeljen arra, hogy az audionlámpa minél messzebb kerüljön, az egyenirányítólámpától és a kisfrekvencia transzformátor a hálózatitól, ellenkező esetben elállíthatatlan zúgás miatt szét kellene szednie az elkészült készüléket.
A tekercseket egymásra merőlegesen helyezzük el; ha nagy, 7,5 cmes tekercseket készítünk, vagy ha meglevő Shielded Hartleyünket használjuk fel, akkor célszerű megtartani az árnyékolást, esetleg a két tekercs közé csak egy árnyékolólapot, mint elválasztófalat iktatni. Megjegyezzük, hogy nagyobb tekercsekkel, valami kevéssel nagyobb érzékenységet és szelektivitást elérhetünk ugyan, azonban a készülék méretei mindjárt megnövekednek és így a költségek nagyobbak lesznek. Ez tehát pénzkérdés; azoknál természetesen, akiknek a régi telepes Shielded Hartley kerül átalakításra, célszerű a meglévő tekercsek megtartása, már csak azért is, mert a doboz és a kezelőlap is megvannak. A régi dobozba pedig, ha a kisfrekvenciarészt újra átrendezzük (fűtőellenállásokat kidobjuk), jól belefér az anódpótlórész is.
Az anódpótlórész.
Amint a kapcsolási rajzon látjuk, az anódpótlő teljesen ellenállásokkal működik, aminek az a nagy előnye, hogy igen kis helyen elfér, mert a nagyméretű fojtótekercsek helyett egyegy szilitpálcát kell csak elhelyeznünk. A transzformátor méretei a rajzon láthatók és miután transzformátorkészítést már több ízben közöltünk, ezúttal csak a menetszámot és a mag méreteit adjuk meg. Az egyenirányítólámpa bármilyen ócska hangszórólámpa lehet, például B 406, vagy a most igen olcsón kapható MRY, stb. Egyoldalú az egyenirányítás, mely ugyan valamivel durvább hullámokat ad, de éppen olyan jól kiszűrhető, mint a kétoldalú. A szűrés első alkatrésze a C7 2 mikrofarados tömbkondenzátor, mely a legnagyobb feszültségingadozásnak is ki van téve; ezt a kondenzátort azért lehetőleg 750 voltra megvizsgált kondenzátorokból vegyük, míg a többi szűrőkondenzátor már olcsóbb, kisebb feszültségre készült is lehet. Az 5000 és a 2000 ohmos ellenállások nagy terhelést bíró Allways vagy hasonló szilitek legyenek; az előfeszültségeket R3 és R4 ellenállásként kapcsolt potenciométerekről nyerjük; a potenciométer azért ajánlatos, mert így az előfeszültségeket szabályozhatjuk.*) Használhatunk azonban fix ellenállásokat is. +A1 a detektorlámpa anódfeszültsége, a +A2 a nagy anódfeszültség, a nagyfrekvencia és a végerősítő részére.
Lámpáknak a nagyfrekvenciafokozatban rendes nagyfrekvencialámpákat használhatunk, G 407, A 409 stb. audionnak okvetlen közvetett izzítású lámpára van szükségünk, mert különben oly erősen berreg a készülék, hogy használni nem lehet. Végerősítőül minden rendes telepes hangszórólámpa megfelel, de alkalmazhatunk háromrácsos egyenáramú lámpát; vagy ha a költséget nem sajnáljuk, váltóáramú háromrácsos lámpát is. Ez utóbbinál a közvetett izzításra a zúgás miatt nem volna szükség, előnye csak a nagyobb teljesítmény.
A készülék kezelése igen egyszerű és ha Budapest vételét a kondenzátorokon megjelöljük, akkor elegendő egy erősáramú kapcsolóval bekapcsolni a készüléket, hogy azonnal vehessük a helyi programot. A család tekintetében ez igen nagy előny, mert bármikor rádiózhatnak. Reméljük, hogy ez az igazán kitűnő készülék sok olvasónknak fog örömet okozni és számosan fognak értesíteni az elért eredményekről.

RMK Nosztalgia Rádió Egyesület lapja - Megjelenik kéthavonta, ingyenesen az Egyesület tagjai részére
Főszerkesztő: Kóger László, Szerkesztés: Biliczky István, Kiadás: Szécsényi Lajos
RMK Nosztalgia Rádió Egyesület székhelye: 1800Bp., Bródy S. u. 5-7. Elnök: Kóger László tel.: (06-30) 378-6633 kogerradio@citromail.hu |
Dokumentumok :: <1930, Dokumentumok :: Nosztalgia Rádió Hírújság
2011.1.31