A VCL11 cső helyettesítésének lehetőségei
Sajnos sokan szembesültünk már azzal a szomorú felismeréssel, hogy bakelit dobozos, lengőnyelves hangszórós néprádiónk megszólaltatására semmi remény a ma márt szinte pótolhatatlan VCL11 cső hiánya miatt. A cső vékony, nagy fú'tőfeszültségre és kis áramra méretezett fú'tőszála (90V/50mA) sajnos a korabeli, hasonló konstrukciójú csövekhez képest gyakrabban hibásodik meg. A VCL11 közismerten hiánycikk, újságunkban is felbukkan időnként apróhirdetés, amelyben a hirdető „fele királyságát és lovát adná" egy VCL11-ért. Ebben a cikkben be szeretnék mutatni néhány olyan trükköt, amivel a néprádió üzembe helyezését VCL11 nélkül is megoldhatjuk.
Újságunk 2000 decemberi számában Simoncsics László gyűjtőtársunk adott már egy megoldást, amikor a néprádió csöveit UCH21/UY21 csőpárositással helyettesítette. (A pontosság végett megjegyzendő, hogy az a cikk tulajdonképpen nem a VCL11 kiváltására íródott, hanem az Orion Falurádió vagy a német DKE38B telepes készülék hálózativá alakítása érdekében. Mindemellett a cikkben közölt megoldás tökéletesen használható lenne VCL11 és VY2 pótlására is). Meg kell, hogy mondjam azonban, hogy ezzel a teljes átépítéssel nem tudtam megbarátkozni.
Nem vitt rá a lélek, hogy az eredeti foglalatokat, fűtőellenállást és a katódejtő ellenállást kicseréljem. Minduntalan az a gondolat járt az eszemben, hogy ha a jövőben netalán rám mosolyogna Fortuna, még összefuthatok egy VCL11 -essél. (Ez bármennyire reménytelennek látszik is, azért teljességgel mégsem zárható ki. Bármikor ráakadhatunk pl. egy törött bakelitkávájú készülékre, amelyben a cső ép maradt. Aki járatos a kvantumfizikában, az tudja, hogy lehetetlen esemény nincs, legfeljebb olyan, aminek nagyon kicsi a valószínűsége.) Ennek megfelelően megpróbáltam kieszelni egy olyan megoldást, ami magát a készüléket teljesen érintetlenül hagyja. Nyilván mindannyiunk számára közismert az a csőpótlási megoldás, amikor egy hibás cső feláldozása árán csőaljzathoz jutunk, és a helyettesítő cső foglalatát rövid huzaldarabokkal a bekötésnek megfelelően ehhez az aljzathoz erősítjük. Igy egy olyan adapterhez jutunk, amit az eredeti cső helyére dughatunk, abba pedig a helyettesítő csövet dugjuk. Én inkább ezt a megoldást választottam, mert ez sem sokkal nagyobb munka, mint a régi csőfoglalatot kicserélni a sasszin, és innen még van visszaút, ha szert teszünk egy VCL11-re.
A legfontosabb szempontom az volt, hogy se a fűtőkört, se a többi áramköri részt ne kelljen módosítani. Ezért körülnéztem, hogy elektromos szempontból mely csövek jöhetnek szóba a VCL11 helyettesítésére, és melyik áll ezek közül a VCL1 l-hez legközelebb. Végignéztem az elérhető trióda-pentóda vagy trióda-heptóda csövek adatait, és próbáltam megkeresni az optimális helyettesítő típust. Elsősorban a könnyen beszerezhető típusokban gondolkodtam. Az olyan egzotikus csövek, mint pl. az UCL11 nem érdekeltek, mert ezeket sem könnyebb beszerezni mint a VCL11-et. Az alábbi táblázatban a helyettesítésre leggyakrabban ajánlott UCH21 mellett az időnként fellelhető UCL82 valamint néhány TV-cső adatait foglaltam össze. A VCL11 helyettesítésére elvileg felhasználható csőtípusok főbb elektromos paraméterei:

A VCL11 trióda részének helyettesítése nem annyira kritikus, hogy ne működjék a készülék bármelyik csővel a felsoroltak közül. Tapasztalatom szerint a legkisebb erősítésű UC(H)21 is képes akkora erősítésre, hogy a visszacsatoló kondenzátorral begerjeszthető legyen a készülék.
A pentóda rész helyettesítése már nagyobb gond. A lengőnyelves hangszóró mágneskörét a VCL11 pentódájának 1 2 mA-es üzemi anódárama előmágnesezi. Az elérhető hangerő és a torzítás akkor optimális, ha a helyettesítő cső anódárama is 1 2 mA közelében alakul. A modern, nagy teljesítményű végcsövek, mint pl. az UCL82 (vagy ECL82, ECL86 és társaik) a néprádióban alkalmazott 300 Ohmos katódellenállással jóval nagyobb, 30mA-t is meghaladó anódáramot adnának, ami a hangszórót túlzottan előmágnesezné, és szegény VY2 egyenirányítót túlterhelné. (Katalógus szerint a VY2 max 20mA katódárammal terhelhető.) A katódellenállás módosításával persze be lehetne állítani 1 2mA-t, de a fő célom az volt, hogy a készülékben semmit ne kelljen megváltoztatni.
Ha eltekintünk a fűtésben jelentkező különbségektől, akkor a fenti táblázatokból látható, hogy minden tekintetben egyértelműen a P(C)L84 áll legközelebb a helyettesítendő csőhöz. Mind a trióda, mind a pentóda rész nagyon hasonló. Mindössze a pentóda rész meredeksége különbözik, a P(C)L84 meredeksége duplája, mint a V(C)L11-é. Ez persze kimondottan előnyös, hiszen ettől érzékenyebb lesz a készülék az átalakítás után.
Természetesen az UCH21 is használható helyettesítőnek, de sajnos kicsi a (pentódának kötött) heptóda rész meredeksége, és kicsi a trióda rész erősítése is. Ezért érezhetően rosszabb vele a készülék érzékenysége, mint az eredeti VCL11 -el. Nem ilyen csőnyúzó beállításra tervezték, a 19mA körül beálló anódárammal erősen túllépjük a megengedett 15mA katódáram limitet, és az anód disszipációja is jócskán meghaladja a katalógus értéket. Ennek ellenére eléggé megbízhatóan működik így is az UCH21. Ha idő előtt tönkremegy, legfeljebb teszünk bele egy másik csövet. Az UCH21 szerencsére nem hiánycikk, esnem is drága.
Szóba jöhet még az ECL80 is, mint helyettesítő. Ezzel is kisebb lesz az érzékenység, mint a VCL11-gyel, de az ECL80-at nem terheljük túl olyan mértékben, mint az UCH21-et. Sajnos 300 Ohm katódellenállással nagy, 25mA körüli anódáram fog folyni, ami a hangszórónak sem optimális, és a VY2-t is nyúzza. Egy német gyú'jtőtársunk, Wolfgang Holtmann közölt egy átalakítási leírást az ECL80 felhasználásával a http://www.radiomuseum.org/forum/gemeinsch_dke38_deutscher_kleinempfaenger_dke5.html internetes oldalon. Ő az ECL80 fűtését egy külön beépített 6V-os trafócskával oldja meg, a VY2-t pedig szilícium diódával helyettesíti, így annak a fűtésével már nem kell bajlódni. Ez a helyettesítés nyilván jól működik, de alaposan bele kell nyúlni a készülékbe, ha ismét eredetivé akarjuk alakítani. Az ő korai évjáratú DKE38 készülékében még 600 Ohmos katódpoti van, ezzel be tudta állítani a hangszóró számára optimális 12mA anódáramot. A későbbi évjáratú készülékekbe a spórolás jegyében már fix 300 Ohmot építettek, amivel sajnos 25mA körülinek adódik az anódáram.
Végül, de cseppet sem utolsó sorban megemlítem a 6F12P (eredeti cirill írás szerint
) csövet.
Ez a trióda-pentóda cső a méretét tekintve a PCF80, PCF82 csövekre hasonlít leginkább, de elektromos paramétereiben sokkal jobb azoknál. Elmondható, hogy Nyugat-Európában és nálunk a csövek fejlesztése kb. az 1970-es évek második felében, a félvezetők térhódításával párhuzamosan leállt. Az oroszok viszont színes TV áramkörökhöz még kifejlesztettek néhány új vevőcsövet, amik paramétereikben verik az általunk ismert hazai és nyugati csöveket. A 6F12P cső színcsatorna erősítőbe lett megálmodva, ahol széles sávban kell nagy erősítést produkálni, ehhez pedig nagy meredekség kell. (Az első hazai színes TV-nkben, a Munkácsy Colorban ebben a fokozatban már tranzisztorokat használtak.) A 6F12P pentóda ja 19mA/Vot produkál, míg a PCF82 csak 6mA/V-ot tud. A ÓF12P trióda részének erősítése 100, a PCF82-é csak 20. Külön érdekesség, hogy a PCF82 pentóda megengedett anódvesztesége csak 1,5W, ezzel szemben a 6F12P pentóda anódvesztesége 5W is lehet, pedig az anódjának felülete nagyon kicsi. (A kis anód felülettel érték el, hogy a csőnek kis kimenő kapacitása lehessen.) Az anód a kis felület és jelentős hőterhelés miatt nagyon forró lehet - enyhe vörös izzás megengedett - de az üveganyag ezt jól tolerálja, nem lágyul meg.
Egy szó, mint száz, ez a kis cső számunkra ideális lehet. Az adott 300 Ohmos katódellenállással ugyan csupán 8,5mA az anódáram, de a trióda nagy erősítése és a pentóda nagy meredeksége miatt nagyon jó lesz az érzékenység.
Összegezve: VCL11 helyettesítő csőnek a 6F12P a legjobb. Hasonlóan jó lenne a PCL84 is, de a későbbiekben látni fogjuk, hogy ennek a fűtését nem túl egyszerű megoldani. Az ECL80 is megfelelő. Az UCH21 már a minőség és csőélettartam tekintetében kissé kompromisszumos megoldás. Az UCH21 fűtése nem oldható meg anélkül, hogy a rádiókészülék kapcsolásába belenyúlnánk, ugyanakkor ennek a fűtőköre transzformátort nem tartalmaz, ezért olcsóbban kivitelezhető.
Az eddig leírtak alapján ez a négy csőtípus alkalmas leginkább a VCL11 helyettesítésére. Problémát elsősorban a fűtőkör kialakítása jelent, ezt részletezem a továbbiakban.
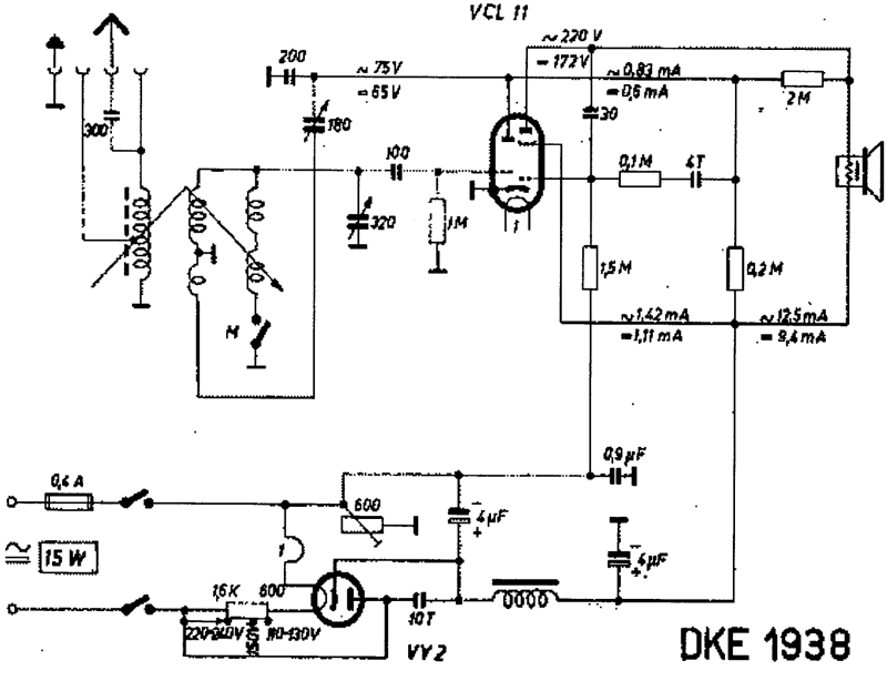
Az alábbi ábrán látható az 1938-as évjáratú DKE38 népvevő kapcsolási rajza, amelyen a fűtőkör eredeti kialakításáttanulmányozhatjuk. (www.antik-radio.de honlapról)

A későbbi évjáratokban (1940-től) takarékossági okokból kihagyták belőle a 600 Ohmos katódköri potenciométert, és azt 300 Ohmos fix ellenállással helyettesitették. A mi Horthy-néprádiónk univerzális kivitelű változata is ennek a fix 300 Ohmmal szerelt változatnak a másolata. Még később, 1944-től a háborús nyersanyagínség miatt az anódtáp szűrőfojtóját is kispórolták és egy 2500 Ohmos ellenállással pótolták. A fojtótekercs elhagyásából adódó brumm növekedést 4 uF-ról 6 uF-ra növelt szűrőkondikkal próbálták csökkenteni. A fűtőkör kialakítása szempontjából mindegyik univerzális változat azonos: 1 lOV-nál a két cső közvetlenül kapcsolódik a hálózatra, 220V-nál pedig 2200 Ohmos soros ellenálláson keresztül. A Horthy-néprádiónak volt egy kissé eltérő, váltóáramú változata is (TI 4IV, Philips 22V), abban egy autotrafó adott 120V feszültségeta sorba kötött két csőnek.
Az eredeti fűtőkör áttanulmányozása után jött az ötlet, hogy a 6F12P vagy ECL80 cső 6,3 V-os fűtőfeszültségét feltranszformálhatjuk olyan mértékben, hogy éppen a VCL11 cső 90V-os fűtőfeszültsége adódjon ki. Ennek szellemében a 6,3 Voltos fűtőfeszültségű csövekkel a fűtőkört az alábbi ábra szerintcélszerű kialakítani:
A trafó helyes méretezéséhez a következő úton jutottam el. A VCL11 és a 6F12P fűtőfeszültségeinek arányából elvileg 90V : 6,3V = kb. 14 : 1 áttételi arányú trafó kellene, ha a trafónk veszteségmentes lenne. Sajnos azonban a kisméretű, néhány VA-es trafók hatásfoka rossz, veszteségük nem elhanyagolható. A huzal ellenállása alapján adhatnánk ugyan becslést a trafó belső feszültségesésére, de a vasmag örvényveszteségét nem egyszerű megbecsülni. További számítgatások helyett inkább kísérletezni kezdtem, és erre a célra legjobbnak a 230/24V-os 'Puskás' trafót találtam. Volt nálam egy 10VA-es darab elheverőben, amivel a 6F12P fűtőfeszültsége 6,6 V-nak, a VY2 fűtése pedig 26V-nak adódott. így a VY2 kissé aláfűt, a 6F12P pedig kissé túlfut.

A trafó primerjével 22 kOhm 2W-os ellenállást parallel kötve közelíthetünk egy kedvezőbb beállításhoz: a VY2 fűtőfeszültsége 27V-ra nő (30V lenne az ideális) a 6F12P feszültsége pedig 6,1V-ra csökken. Sajnos ennél jobb helyzet ezzel a trafóval nem érhető el, mert a VY2 fútőáramának növelése a 22 kOhm csökkentését követelné meg, ami egyúttal a 6F12P még erősebb aláfútését okozná. Mindenesetre ezzel a kombinációval a népvevő tökéletesen működik. A 6F12P katódárama 8,5mA - közel áll az eredeti 12mA-hez - az érzékenység pedig kiváló, köszönhetően a trióda rész nagy erősítésének és a pentóda rész nagy meredekségének.
Ha ECL80-as csövet használunk, a trafóval párhuzamos ellenállást 10 kOhm-ra kell választani. Korábban már írtam, hogy a VCL11-et helyettesítő csövek közül a PCL84 lenne az ideális, de sajnos ehhez 90V : 15V = kb. 6 : 1 áttételi arányú trafó kellene, ilyet pedig készen nem forgalmaznak. (Kész trafókat 48 V-os szekunder feszültségig lehet kapni, ide viszont 60V körüli szekunder tekercs kellene.) Külön tápegységről fűtve a PCL84-et, sikerült megmérnem az anódáramot: 13mA-nek adódott, ami hihetetlenül „ideális" érték. Ha valakinek van kedve ilyen trafót tekercselni, próbálja meg!
Megjegyzem, hogy a trafótól igényelt teljesítmény kicsi, hiszen a fűtőáram 6F12P esetében is csak 0,33A, tehát elvileg már 5VA-es transzformátor is tökéletesen elegendő lenne. Azt viszont nem tudom garantálni, hogy a kisebb trafó rosszabb hatásfoka (ergo nagyobb belső veszteségei) miatt hasonló fú'tőfeszültség értékek fognak előállni az 5VA-es trafóval is.
Nem okvetlenül fontos, de célszerű a 6F12P (vagy ECL80) fűtőszálát földre kötni, a fenti ábra szerint. Ha ezt elmulasztjuk, akkor a trafó primerje és szekunderje közti szórt kapacitáson és a fűtőszál-ka tód kapacitáson keresztül némi 50 Hz-es búgásmoduláció kerül a katódra. A népvevő egy kicsit mindig búg, még akkor is, ha a kiszáradt elkók helyett újakat építünk bele, ezzel az aprósággal már ne rontsunk a helyzeten, ha lehet...
A mechanikai konstrukciót egy fűtés-szakadt EM11-es csőből kinyert aljzatra építettem. Az EM11-es üveg részének sszetörése után a bakelit csőaljzat oldalába fúrtam két lyukat, és két kis derékszögbe hajlított lemezdarabka segítségével felerősítettem rá a novál csőfoglalatot és a trafót tartó szerelvényt. Ez 0,5mm-es vaslemezből készült (gipszkarton szerelő elemből) de itt tág tere nyílik az egyéni konstrukciós ötleteknek. A fényképen a mechanikai konstrukció részletei jól kivehetők.

A csőfoglalat és a dugalj kivezetéseit értelemszerűen kell összekötni, a katalógus szerinti lábkiosztásoknak megfelelően. Csak arra kell ügyelni - a választott helyettesítő cső típusától függetlenül - hogy a pentóda rész vezérlőrácsával kössünk sorosan egy 1 kOhm-os ellenállást, az anódjával pedig sorosan egy 100 Ohmos ellenállást. Ezekre a pentóda rész rádiófrekvenciás gerjedésének megakadályozása végett van szükség. Természetesen a 6F12P esetében a trióda és pentóda csőrész katódjait össze kell kötni. ECL80 esetében a fékezőrácsot, illetve UCH21 esetén a 3-ik rácsot a katódhozkell kötni.
Az adaptert a készülékbe építve a baloldali alsó fotó ábrázolja.
Ha UCH21 -el dolgozunk, akkor két ellenállás és egy dióda beépítése árán megspórolunk egy trafót, és egyszerűbb lesz a mechanikai kialakítás is. A fűtőkör kapcsolása ebben az esetben így néz ki:

Egy acélcső dugaljból és egy loktál foglalatból készíthetünk adaptert az UCH21-hez, az alábbi fényképen látható konstrukcióban:
A foglalatok megfelelő kivezetéseit itt is értelemszerűen kell összekötni. A pentódának kötött heptóda anódjának és a vezérlőrácsának a vezetékbe a 100 Ohm illetve 1 kOhm gerjedésgátló ellenállásokat itt is célszerű beépíteni. A képen látható, forrfülekkel ellátott 2200 Ohm/10W-os ellenállást egyszerűen csavarkötéssel, bárminemű forrasztás nélkül párhuzamosan tudjuk kötni a népvevő eredeti 2200 Ohmos fútőellenállásával, a következő fényképen ábrázolt módon. Az 1N4007 diódával félhullámú fűtést valósítunk meg, ezzel elérhetjük, hogy az UCH21 miatt 100mA-re növelt fűtőárammal sem lesz nagyobb a hődisszipáció, mint amekkora eredetileg a VCL11-el 50mA mellett volt. Az energiatakarékos félhullámú fűtést a második generációs TV-k fűtőkörénél kezdték el alkalmazni.
Ezekben a TV-kben már megjelentek a félvezetők, csak a nehezen „félvezetősíthető" fokozatokban -hang-, kép- és sorvégfokban - maradt néhány cső. Pazarlás lett volna a 6-8 megmaradt csövet ugyanakkora energiával fűteni, mint a korábbi készülékekben a kb. 20 csőből álló fűtésláncot. Ezért a fűtőkör disszipációját oly módon csökkentették, hogy egy soros diódán keresztül, félszinusz hullámmal táplálták a fűtésláncot. A félszinusz effektív feszültsége a 230 Volt gyök 2-ed része, 162 Volt. A teljes fűtőkör teljesítménye így csak feleakkora, mint teljes hullámú fűtésnél lenne. A fenti kapcsolási rajzon látható ellenállás értékeket úgy választottam meg, hogy a 162 Volt effektív feszültség hatására kb. 0,1 A effektív fűtőáram folyjon az UCH21-en. A VY2 csak 50mA fűtést igényel, ezért párhuzamosan kell kötni vele egy 560 Ohm/2W-os söntöt, a fényképen illusztrált módon. Látszik, hogy csak minimális mértékben kell belenyúlni a készülékbe, az átalakítás csak 2 ellenállás beépítését jelenti, kiszerelni viszont semmit nem kell. Ha később sikerülne VCL11-et szerezni, akkor ezt a 2 ellenállást kiszedjük, és ezzel egyszerűen visszaállíthatjuk az eredeti állapotot.

A dióda elvileg bárhol beépíthető lenne a fűtésláncba, de célszerű a rajzon jelölt helyre rakni. így az UCH21 fűtőszála mindig földpotenciálon lesz. Ha a diódát a földág és a fűtőszál közé tennénk be, akkor a fűtőszál potenciálja másodpercenként 50-szer ugrálna a föld és a fázis potenciálja között. Ez erős brummot, és előbb vagy utóbb katód-fűtés zárlatot okozna. Jó, ha a dióda polaritása a rajz szerinti, így az egyik félperiódusban a fűtőáram, a másikban pedig a VY2-n keresztül az anódáram folyhat. így egyenletesebben terheljük a hálózatot.

A fűtőkör helyes működését leginkább szemmel tudjuk ellenőrizni. Ha a csövek a szokásos mértékű izzásban vannak, akkor minden rendben. Sajnos a fűtőáramot mérni egyszerű eszközökkel nemigen tudjuk, mert sem az analóg műszerek, sem az olcsóbb digit multiméterek nem mérik helyesen a félszinusz effektív értékét.
Az adapterek megépítéséhez az egyes helyettesítő csőtípusok lábkiosztásának bekötési rajzait 14. oldalon láthatjuk.
Összegzés:
A DKE 38-as népvevőm érzékenységével nagyon elégedett vagyok, különösen a 6F12P csöves konverter használata esetén. Az átalakítás után az esti órákban a „kötelező" magyar adókon (MR1 Kossuth és MR nemzetiségi műsorok) túl vesz számos külföldi adót is (orosz, német román nyelvűekre akadtam), mindezt a pincében. Antennának mindössze egy 2 m-es mérőzsinórt használok.
Sok sikert kívánok az utánépítéshez!
Naqy Attila
HA5DU, nati.origo@freemail.hu
Felhasznált irodalom:
1. Nosztalgia Rádió Hírújság III. évfolyam 6. szám (2000. December),
2. www.tubedata.org,
3. http://www.antik-radio.de/radio/manuals/dke38.gif, http://www.radiomuseum.org/forum/gemeinsch_dke38_deutscher_kleinempfaenger_dke5.html
RMK Nosztalgia Rádió Egyesület lapja - Megjelenik kéthavonta, ingyenesen az Egyesület tagjai részére
Főszerkesztő: Kóger László, Szerkesztés: Biliczky István, Kiadás: Szécsényi Lajos
RMK Nosztalgia Rádió Egyesület székhelye: 1800Bp., Bródy S. u. 5-7. Elnök: Kóger László tel.: (06-30) 378-6633 kogerradio@citromail.hu |
Dokumentumok :: Nosztalgia Rádió Hírújság, Dokumentumok :: Rádiócsövek
2011.5.31