Astradyn - 2. 2 csöves hálózati modern hangszóró-vevő
A hálózati vevők korszakában élünk. Mindenkinek az a vágya, hogy kényelmesen, gondtalanul élvezhesse az éter áldásait és mi volna erre más alkalmasabb készülék, mint az, amelynél csak egy gombot kell megnyomni. A panasz eddig az volt, hogy igen, szép-szép, de hát az eddig közölt kapcsolások túl komplikáltak s főképpen rendkívül — drágák. Hiányzott egy olcsón elkészíthető olyan vevő, melynél mindamellett nem kell igényeinket lefokozni. . .
Ez vezette a Rádió Újság szerkesztőségét, mikor egyik laboratóriumunkkal kidolgoztatta az Astradyn 2 kapcsolást. Két cső. Hangszóróvétel, nemcsak a helyi adó, hanem 7—14 külföldi állomás a helyi viszonyoknak megfelelően. Még a fővárosban is! Üzemköltség? Három óránként egy fillér. Beszerzési költsége? A legkevesebbe kerül. Bárki elkészítheti. Kész Példány szerkesztőségünkben bármikor megtekinthető. Ügyeltünk arra, hogy ki-ki saját maga is megépíthesse alkatrészeit, de kész, kipróbált típust is beszerezhessen. Két rajzot ingyen adunk vagy küldünk. |
A kapcsolás.
Minden hálózati készülék két részből áll, a vevő részből és az anódpótlóból. Az anódpótló szolgáltatja egyúttal a f'űtőáramot és az előfeszültséget is. Lássuk először a vevőrészt.
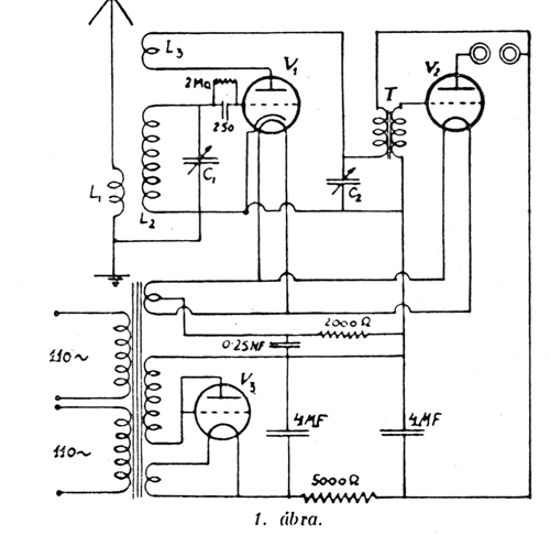
Vevőnk egy helyesen méretezett audionnal kezdődik. Az audionban az úgynevezett Schnell-féle visszacsatolást alkalmaztuk, melynek segítségével a visszacsatolást igen lágyan tudjuk beállítani, hogy készülékünk a legérzékenyebb pontján dolgozhasson. Az L/1 antenna, az L/2 hangoló és az L/3 visszacsatoló tekercsek, ha nem készen vesszük, hanem magunk akarjuk elkészíteni, közös hengerre tekercseljük. A kivitel igen különböző lehet. Használhatunk presspán-, bakelit- vagy celluloid-hengert, vagy készíthetjük testnélküli kivitelben is. A leírt készülékben a tekercsek celluloidhengeren készültek a következő adatok mellett. A henger átmérője 60 mm, hossza kb. 80 mm. Tekercseléshez kétszeres pamutszigetelésű, 0,5 mm átmérőjű huzalt használtunk és a meneteket az un. légréses tekercseléssel csévéltük fel. Az antennatekercs 20 menetből áll, azután a hengeren 10 mm-t üresen hagyunk és rácstekercsnek felcsévélünk 65 menetet, újból kihagyunk a hengeren 5 mm-t és ezután következik a visszacsatoló tekercs, 20 menettel.

Ha elkészítésével nem akarunk magunk bajlódni, kereskedésben készen is kapunk ilyen tekercseket. Az Astra antennatekercs menetszáma és a rácstekercstől való távolsága különben mindíg attól függ, hogy mekkora szelektivitást kívánunk meg a készüléktől és e célból az antennatekercset úgy is lehet készíteni, hogy elfordítható legyen és így a legkedvezőbb helyet kereshetjük ki magunknak. C/1 hangolókondenzátornak egy 500 cm-es csillámforgót használhatunk, mely célunknak teljesen megfelel, ugyanilyet használunk a visszacsatolás szabályozására is 300 cm kapacitással (C/2). A rácskomplexum a szokásos 250 cm blokk-kondenzátorból és egy 2 megohmos rácsellenállásból áll.
Most következik a hangfrekvencia-erősítő. Hangfrekvencia transzformátornak 1:3 vagy 1:4 áttételűt használjunk (Astra-transzformátort). Hátra vannak még a lámpák. Készülékünkbe egyetlen közvetett fűtésű cső kell csak, az audion helyére. Mi a próbákat Tungsram AR 4100-as báriumcsővel végeztük. Végerősítőnek nem kell közvetett fűtésű, de mindössze egy jó egyenáramú hangszóró-cső szükséges, mint amilyen a P. 414, vagy L. 414-es báriumcső.

Vevőnk ezzel készen is van. Fényképét 2-ik rajzunkon látjuk. Hátra van
az anódpótló.
Különböző nagyságú és kapcsolású vevőkhöz, különböző anódpótlót kell építeni és a megfelelő adatok pontos betartásától függ mindig az eredmény is. (Gondoljuk meg például, hogy a helytelenül adagolt előfeszültség tönkreteszi a hangszínezetet.)
A mi készülékünknél roppant egyszerű az anódpótló, mivel a készülék áramfogyasztása igen kicsi. Mint jellemzőt kell megemlítenünk, hogy az anódpótló sokkal kevesebbe kerül, mint ha telepeket vennénk helyette, amelyeknél még fenntartási költségek volnának. Anódpótlónk kapcsolását az 1. ábránk mutatja. Szükséges először is egy transzformátor, mely a hálózat (110, 120, 150 vagy 220 voltos) váltóáramát a megfelelő feszültségekre alakítja át. A szekunder oldalon háromféle feszültségre van szükségünk: 4 volt a vevőcsöveink fűtésére, még egyszer 4 volt az egyenirányító-cső részére, melynek anódfeszültségét adja a 3-ik tekercs, 180—220 volt értékben.

Az ilyen tr. leírását nemrégiben közöltük az Univerzál-sorozatban a kis U-vasmagon, aki azonban készen akarja beszerezni, pontosan ugyanezt megkaphatja készen is (kis ,, Astra"-transzformátor).
Egyenirányító-csőnek teljesen, sőt bőven elegendő egy hangszóró-cső (P. 414), mely kevesebbet is fogyaszt és olcsóbb is más egyenirányító-csőnél. (A rácsot az anóddal össze kell kötni.) A szűrőkörben hiába keresünk nehéz fojtótekercseket, helyette ellenállás van, mely jól megfelel és összehasonlíthatatlanul olcsóbb amannál. Ez az ellenállás vagy egy 5000 ohmos polywatt, vagy 4 darab 1000 ohmos fejhallgató-cséve sorbakapcsolva. A szűrőhöz tartozik még 2 darab 4 MF-os kondenzátor. Ennek a vásárlásánál óvatosak legyünk, nehogy silány holmit vegyünk, kondenzátornak legalább 500 volt próbafeszültséget ki kell bírniuk.
Előfeszültséget két darab sorbakapcsolt 1000 ohmos telefoncséve adja, melyet 0,25 MF-os blokkal hidalunk át. (Ez a blokk már kisfeszültségű is lehet, hisz itt mindössze 10—20 voltról van szó.)
A szerelés
igen egyszerű. Mindent 1 mm vastag szigetelt (vagy varnis-csőbe húzott) vezetékkel intézünk el. A kapcsolásnak nincs kényes pontja. Összeszerelés után bátran bekapcsolhatjuk vevőnket, annak működni kell! (Néhány másodpercig várni kell, míg a közvetett fűtésű cső bemelegszik.)
Mit tud készülékünk?
Természetesen a helyi adót nagy hangerővel hozza, még világítási antennán is (antennapótlóval). De külföldi adókat is szépen kapunk rajta, még pedig szelektíven. Természetesen Budapesten nem szabad túlzott igényekkel előállni, de Budapest kikapcsolható jó hullámszűrő elé bekapcsolásával, úgy hogy Budapest adása alatt is elkalandozhatunk az éterben. Például legutóbb Algier szép tisztán jelentkezett, még pedig hangszóróban.
Mindezt a nagyfokú erősítés teszi lehetővé, a megfelelő alkatrészek kedvező társulása folytán.
RMK Nosztalgia Rádió Egyesület lapja - Megjelenik kéthavonta, ingyenesen az Egyesület tagjai részére
Főszerkesztő: Kóger László, Szerkesztés: Biliczky István, Kiadás: Szécsényi Lajos
RMK Nosztalgia Rádió Egyesület székhelye: 1800Bp., Bródy S. u. 5-7. Elnök: Kóger László tel.: (06-30) 378-6633 kogerradio@citromail.hu |
Dokumentumok :: <1930, Dokumentumok :: Kapcsolási rajzok
2010.4.6