Weekend 1930 - 3 csöves koffervevő beépített hangszóróval
Programunk szerint mindig olyan kapcsolást közlünk, melyre szükség van, mely modern újításokat tartalmaz. Mindezen kapcsolásokat mielőbb elkészíthetjük, vagy a R. U. belső laboratóriumában, vagy ügyes amatőrökkel. Jelen esetben a következő feladatot adtuk fel: Szükség van egy olyan koffervevőre, mély hangszórót működtet és pedig Budapestet, esetleg egy-két más állomást, minden külső antenna nélkül, csakis a beépített kerettel, de meglegyen az antennacsatlakozás lehetősége is, hogy otthon rendes házi készülék gyanánt használhassuk. Kiránduláson, nyaraláson ne legyenek telepgondok, odahaza anódpótlót használhassunk.
Ne legyen nehéz és olcsó legyen. All right! mondta emberünk. Hat hét múlva laboratóriumunkban, majd kiránduláson próbáltuk s most megadjuk a fémjelzést a közlésre.
A hordozható készülékeknél alapjában véve két típussal találkozunk. Az egyik az utazó-készülékek típusa. Ezen típusnál igyekeznünk kell úgy a térfogatbeli méreteket, valamint a súlyát is a legkisebb mértékre leszorítani. Ez fejhallgatóvételt ad. A másik típusnál viszont az a fő kívánságunk, hogy a készülékkel minél nagyobb hangerőt érjünk el, kevés számú csővel s amellett ne legyünk szabad antennához kötve, továbbá, hogy a készüléket otthonunkban egyik helyiségből a másikba lehessen hordozni. E típusnak főelőnye az, hogy a helyi adó műsorát nyáron, zivataros időben is nyugodtan élvezhetjük. Minthogy a készülék hordozható, szabad antennától függetlenül kell dolgoznia, tehát csak a készülékbe beépített keret, mint antenna jöhet tekintetbe. A készülékben azonkívül a hangszórónak és az áramforrásnak kell helyet foglalnia.
A keretvétel a készüléktől nagy érzékenységet követel s ezen oknál fogva távvételre alkalmas készülékek nem akármilyen kapcsolásban és összeépítésben készülhetnek.

Jelen kapcsolásunk egy audion kétfokozatú hang- frekvencia-erősítővel, ez a legerősebb összeállítás kevés csővel. Az audion-kapcsolás érzékenységét visszacsatolás alkalmazásával fokozhatjuk. Visszacsatolás nélküli kapcsolásnál erős hangszóróvétel csak úgy érhető el, ha az audion elé legalább egyfokozatú rádiófrekvenciás erősítőt építünk. Az audion anódkörébe egy kis fojtótekercs van beépítve, melynek feladata a rádiófrekvenciát távol tartani a hangfrekvencia-csövektől.

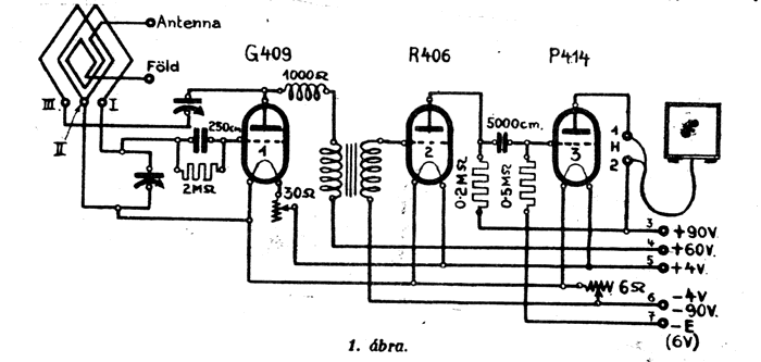
Az 1. ábra a készülék elvi kapcsolása.
A 2. ábra a készülék huzalozási rajza.
A 3a ábra a készülék belső elrendezését mutatja.
A 3b ábra a készülék külső alakja.
A 4. ábra a készülék tulajdonképpeni vevőberendezését mutatja.
A készülék első hangfrekvenciás erősítőfokozat transzformátoros, míg a másik ellenállás-erősítő, így kiváló hangszínezetet tudunk biztosítani.
A készülék elrendezése szerint a szükséges tekercsek nem láthatók, hanem azok keret alakjában vannak kiképezve és a készülék dobozában elhelyezve. Leírását később látjuk.
A készülék doboza 2 mm vastag kartonból készült házilag. Méretei 410X300X135 mm.

A doboz úgy készül, hogy egy 680X570 mm-es kartonlapon az 5. ábra szerint a keresztvonalak mentén, késsel körülbelül 1 mm mélyen vonalakat vágunk be, a vonalazott sarkokat pedig kivágjuk. Az ezen módon nyert alaknak a négy szélét a bevágott vonalak mentén derékszögben hajlítjuk meg és a nyert dobozalak négy sarkát enyvvel bekent erősebb papírcsíkokkal ragasztjuk össze. Mielőtt azonban a sarkokat összeragasztanánk, az 5. ábrán látható nyílásokat vágjuk ki, melyek közül a hosszúkás a tárcsák és gombok kivezetéséhez, a kérek pedig, amely elé majd vékony szövetet vagy selymet ragasztunk, hangszórónyílásnak szolgál.
Azután vágunk puhafából 8 darab 8X8 mm-es lécet és pedig 4 darab 270 mm bosszút, 4 darab 410 mm hosszút. Ezen lécekből készítünk két egyforma keretet, melyeknek sarkait enyvvel bekenve, vékony szögekkel szögezzük össze. Ha a keretkészítésnél a megadott méreteket pontosan betartjuk, úgy azok a már elkészített dobozunkba pontosan beillenek. A keretek egyikét a doboz fenekére ragasztjuk rá enyvvel, a másikat pedig a doboz felső belső peremére. Ezen keretekre szükségünk van azért, mert ezek a tekercsek, tartójául szolgáló kartonkeretnek a támaszai. A doboznak ugyanilyen módra készítjük el a fedelét, mégis azzal a különbséggel, hogy ennek mélysége csak 20 mm. A fedelet is el kell látni épp olyan méretű puhafakerettel, mint a dobozt, hogy majd ezen keretekre kis zsanérokat ráerősíthessünk.
A tekercsek tartójául szolgáló keretet szintén 2 mm vastag kartonból a 6. ábra szerint ragasztjuk össze. E célra vágjunk ki 2 darab 365 mm hosszú és 145 mm széles és 2 darab 265 mm hosszú és 145 mm széles csíkot. Ezen csíkokat sarkaikon enyvvel bekent erősebb papírcsíkokkal ragasszuk össze. Amikor a ragasztás már megszáradt, akkor a keret sarkai külső oldalaira a 6. ábrán vonalazott helyekre szintén enyvvel ragasszunk rá celluloid-csíkokat oly módon, hogy a keret egyik oldalán maradjon, szabadon 10 mm, a másikon pedig 25 mm hely. E célra vágunk 0,5 mm-es átlátszó celluloidból 4 darab 110X80 mm-es csíkot, s azokat a hosszirány közepén derékszögbe hajlítjuk meg.
Amikor a ragasztás megszáradt, fúrjunk ki a 6. ábrán I., II., III., valamint a és b-vel jelzett helyeken 3 mm-es lyukakat s azokba helyezzünk be 12 mm hosszú, laposfejű, sárgarézcsavarokat, melyeket majd a keret belső oldalán sárgaréz csavaranyákkal megszorítunk.
Most az a-val jelölt csavar feje alá helyezünk 0,5 mm-es kétszer pamuttal szigetelt vörösréz-huzal letisztított végét, a csavaranyát húzzuk jól meg s a keret köré tekercseljünk három menetet úgy, hogy a menetek között maradjanak 2, illetve 3 mm-es rések. A harmadik menet befejezése után a huzalt vágjuk el, annak végét megint tisztítsuk meg s a csupasz huzal végét helyezzük a b-vel jelzett csavar feje alá. A csavaranyát pedig jól húzzuk meg. Ezzel elkészült az aperiodikus antenna tekercse.
Most megint tisztítsuk meg a huzal végét s azt az I-el jelzett csavar feje alá helyezzük s ugyanúgy, mint mar előbb, tekercseljünk rá 22 menetet, most pedig anélkül, hogy a huzalt megszakítanánk. Ott ahol a huzal a II-vel jelzett csavar fejét elérte, tisztítsuk azt meg s helyezzük a II csavar feje alá és a tekercselést folytassuk még 4 menettel. Az utolsó menet végén megint tisztítsuk meg s azt a III-mal jelzett csavar feje alá helyezzük. Ezzel a tekercseinket képező keretet be is fejeztük. A kész keretnek sarkain a huzalokat ott, ahol celluloid csíkok vannak, alattuk kenjük be jól acetonnal. Ezáltal a huzal a celluloidhoz tapad, amire majd a keretnek a dobozba való helyezésénél nagy szükségünk lesz. Hogy a keretet a dobozba kényelmesen helyezhessük, kössük azt át keresztben vékony madzaggal, miáltal az oldalai behúzódnak és a keret megkisebbedik annyira, hogy a dobozba nagyon könnyen belefér. Amikor a keret már a dobozban van, vágjuk át a madzagot s a keret visszanyerve eredeti alakját a doboz oldalaihoz hozzásimul.

Azután készítsünk el vékony 3—4 mm-es deszkából egy kétoldalon nyitott dobozkát. A lefényképezett készülékben elhelyezett doboz méretei 150X105 mm. Ebbe a dobozba teszünk majd akkumulátorokat. A doboz egyúttal a készülék alapjául is szolgál.
Most kivágjuk magunknak a készülék alapdeszkáját vékony deszkából 110 X 140 mm méretben. Ezen alapdeszkára helyezzük rá a 2., illetve a 4. ábra szerint a szükséges alkatrészeket. A kivezetések felerősítéséhez szolgál egy 100 mm hosszú, 8 mm széles és 7 mm vastag szigetelőanyagból készített léc. Ezen lécbe fúrunk kilenc 2 mm-es lyukat. E lyukakat a léc alsó oldalán 4—5 mm mélyen fúrjuk utána 4 mm-es fúróval, hogy ezekbe a lyukakba a behelyezendő csavarok fejeit besüllyeszthessük. A két szélső lyukat üresen hagyjuk, mert ezek a lécnek az alapdeszkához való hozzáerősítésre szolgálnak. A lobbi lyukakba pedig helyezzünk be 12 mm hosszú, 2 min vastag sárgaréz-csavarokat s azokat a hozzávaló sárgaréz-csavaranyákkal húzzuk meg.
Azután a beszerzett 110X190X4 mm-es szigetelőlapot megfelelő helyeken fúrjuk ki, a lyukakba erősítsük be a megfelelő alkatrészeket. Most a két, már felszerelt lapot derékszögben erősítsük egymáshoz s meg is kezdhetjük a tulajdonképpeni szerelést, melyet a huzalozási rajz szerint könnyen elvégezhet bárki, olyan egyén is, aki rádiókészítéssel eddig még nem is foglalkozott. Antenna és földkivezetést adunk (a készülék előlapján látható gombok). Hangszórónak bármilyen típus alkalmas, hangdoboz és kifeszített kónusz-membrán (pl. Blaupunkt kit), vagy készen veszünk egy kis hangszórót és úgy, ahogy van, a kivágásba beépítjük.
Adhatunk fejhallgatókivezetést is, mely ugyanaz, mint a hangszóró két szorítója, ilyen esetben azonban a hangszóró egyik vezetékét ki kell tudni kapcsolni. Hallgatóval mintegy 20 állomással többet lehet venni, mint hangszóróval.
Egy 4 voltos kocsonyás akkumulátor (13 amperórás) a fűtőtelep, nem kell félni, hogy kidől a sav belőle. Anód-telepnek egy 90 voltos kell, mely kényelmesen elfér benne, az egész nyárra elég, tekintve a kis anódáramfogyasztást. Otthon más anódtelepet kapcsolhatunk zsinórral hozzá (anódpótlót is).
A készülék üzembehelyezése úgy történik, hogy első-sorban a 4. ábrán. I., II., III-mal jelzett szorítócsavarokkal, rövid zsinórokkal összekötjük, azután a készülék alapdeszkára felerősített és csavarokkal ellátott léc 1. csavarját a hangszóró — pólusával, a 2. csavarját a hangszóró + pólusával, a 3. csavarját az anódtelep + 90, a 4. csavarját a + 60, az 5. csavarját az izzítótelep + pólusával, a 6. csavarját az izzítótelep és az anódtelep — pólusával, a 7. csavarját az előfeszültség — pólusával kössük össze. Most a visszacsatoló forgókondenzátor tárcsáját forgassuk meg lassan és annál a helyzetnél álljunk meg, amikor a jelentkező fütty éppen eltűnik. Ezen művelet után a hangoló forgókondenzátor-tárcsának forgatásával az állomást állítsuk be.
A leírt készülékhez szükséges anyagok:
1 db 500 cm forgókondenzátor (TRT—Y mikrodiállal).
1 db 300 cm forgókondenzátor (bakelit).
3 db csőfoglalat.
1 db transzformátor 1:4 (TRT Safe, Orion).
1 db 6 ohmos fűtőellenállás.
1 db 30 ohmos fűtőellenállás.
1 db 1000 ohmos fejhallgató-cséve (fojtótekercs).
1 db 2 megohmos szilitellenállás (Always, Loewe).
1 db 250 cm blockkondenzátor (TRT Luna).
1 db 5000 cm blockkondenzátor (TRT Luna).
1 db 0,2 megohmos szilitellenállás.
1 db 0,5 megohmos szilitellenállás.
1 db 110X190X4 mm szigetelőlap.
1 kisebb hangszóró.
3 cső: G 409, R 406, P 414 vagy A-4, B-4, L-4, vagy G 409, Rx 406, Lx 414 vagy A 415, A 425, P 414.
Kötőhuzal. Liebmann E.
*
Múlt számunkban Biplex detektoros kapcsolásának szerzői (egyidejűleg): Steiner György, Budapest és Korodi Sándor, Kolozsvár.
*
Múlt heti számunkban „Mit építsünk" rovatába néhány sajtóhiba csúszott be. A helyesbítést itt adjuk: 33. oldal második hasáb, alulról a második sorban: „rovására" helyett „rácsára" olvasandó. A 2-ik ábrán kimaradt a visszacsatoló kondenzátor, a 8-ik ábrán pedig a rezgéseket visszavezető kondenzátor értéke 50 cm). A 7-ik ábrán az 50 cm neutrodon helyett 500 cm a helyes.
RMK Nosztalgia Rádió Egyesület lapja - Megjelenik kéthavonta, ingyenesen az Egyesület tagjai részére
Főszerkesztő: Kóger László, Szerkesztés: Biliczky István, Kiadás: Szécsényi Lajos
RMK Nosztalgia Rádió Egyesület székhelye: 1800Bp., Bródy S. u. 5-7. Elnök: Kóger László tel.: (06-30) 378-6633 kogerradio@citromail.hu |
Dokumentumok :: Nosztalgia Rádió Hírújság
2010.12.19