Orion 441 (1950-51)
A háború után gyártott típusszuperek nagyobb változata, felépítését a Rádiótechnika 1952. évi augusztusi száma ismerteti. Mivel ennek a cikknek a másolatát mellékeljük, az abban leírtakat nem ismételjük meg, csak egy-két gyakorlati tanáccsal szolgálunk a fényképek mellett.
A korabeli nagy szegénység miatt ezt a vevőt nem a hazai piacra gyártották, ezt igazolja a hátlap francia-, angol- és németnyelvű felirata. A felhasznált permanens dinamikus hangszóró viszont importból származik.

Kidobozolás
A forgatógombokat a „hasított" tengelyekről lehúzzuk, a dobváltó tengelyének csavarjait meglazítjuk, a panelt rögzítő négy csavart alul és a skálaszerkezetet tartó két facsavart felül kicsavarjuk és a hangszóró két vezetékét leforrasztjuk, ezután a készülék hátrafelé kihúzható. Előnyös, hogy egy egységet képez a teljes készülék, a javítás során viszont célszerű külső póthangszórót alkalmazni a próbákhoz.
Skálahúrozás
A húrozás nem komplikált, a nehézséget csak az okozza, hogy mind a skálamutatót, mind a skáladobot meghajtó rész külön felcsavarodik a meghajtó tengelyre, és a húrozást össze kell „hangolni" a meghajtó tengelyen lévő végállásbiztosítóval. A mutató gyors mozgását egy lendkerék segíti.
Restaurálás
A készülék a potméterek kivételével nem igényelt javítást, ezért a tipikus hibákról nem tudok írni. A skálaüveget még véletlenül se próbáljuk lemosni, szükség esetén használjunk fekete ellenállásokat. A KF trafók alumínium serlege le van peremezve, ezért GDO-val nem tudjuk a hangolást (a kondenzátorokat) ellenőrizni. A dobváltóban lévő tekercsek fölött vannak a hangoló trimmerkondenzátorok elhelyezve (elég rossz minőségűek), ezeket kis hangoló villával lehet állítani kidobozolás és a dobot takaró bakelitserleg levétele nélkül.
Hibák
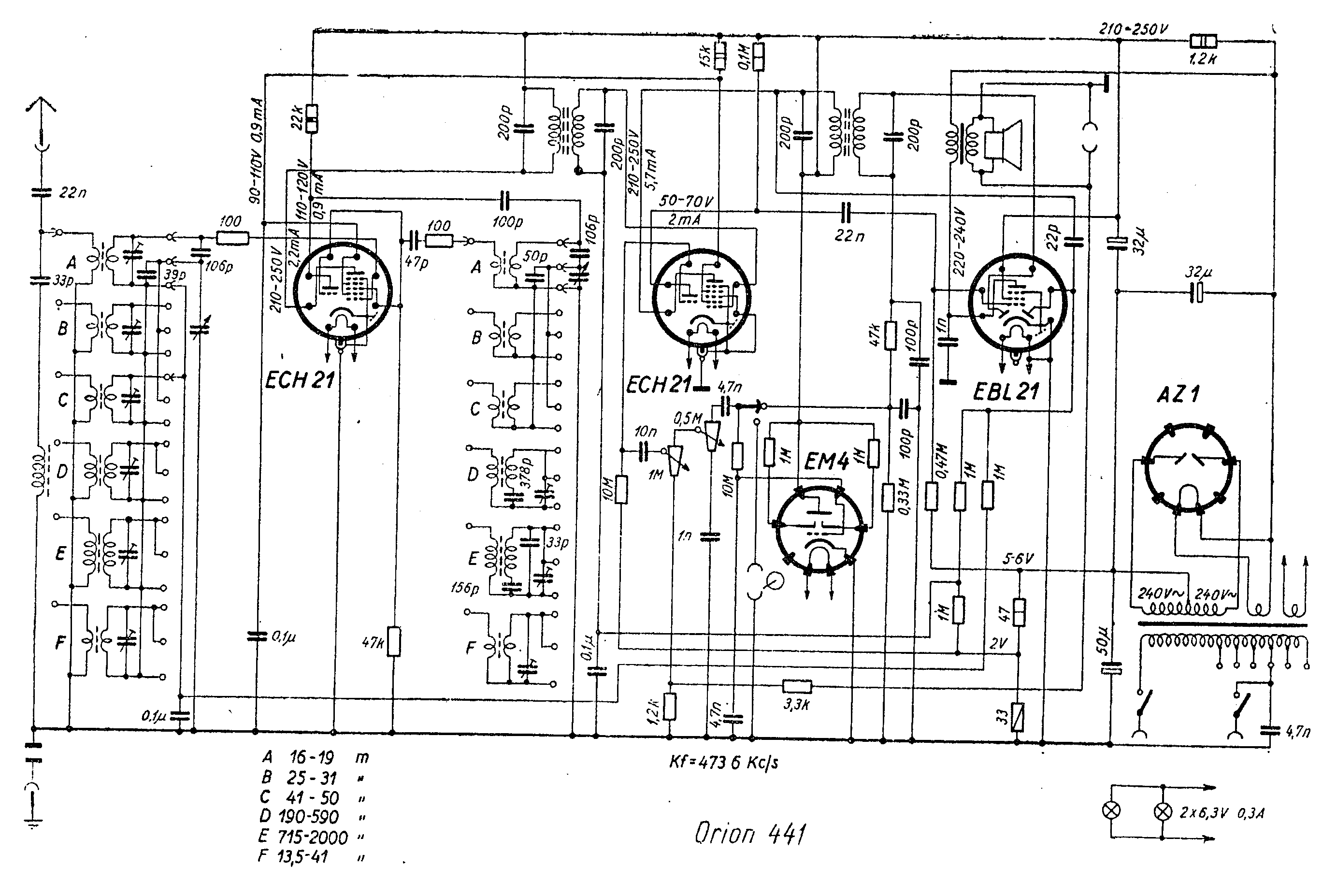
A mellékelt leírás állítja, hogy a 440 és a 44l-es típus között csekély a különbség. A 440-es hangfrekvencis fokozatában a visszacsatolás a végcső anódjáról történik. Látható, hogy a 441-es az előző továbbfejlesztett változata, mert a negatív visszacsatolást a kimenőtrafó szekundertekercséről oldották meg a hangerőszabályzóval sorbakötött ellenállásra. Ez bizonyos fokú fiziológiai hangerőszabályzást eredményez.

A cikk rövid működést ismertető fejezetében az 1200 ohmos ellenállásból és 2,2 uF-os kondenzátorból álló "rezgőkörről" szóló fejtegetés badarság, ez az RC tag a 441-nél kimaradt.
A másik különbség, hogy a keverő hexóda szabályzása nem az 1 Mohmos ellenálláson, hanem a modulátor rezgőköri tekercsén keresztül történik.
A Kádár könyvben pedig elkövették azt a hibát, hogy mind a 440-esnél, mind a 441l-esnél ugyanazt a 441l-es rajzot tettékbe. Mi is ezt a rajzot mellékeljük.
Simoncsics László
RMK Nosztalgia Rádió Egyesület lapja - Megjelenik kéthavonta, ingyenesen az Egyesület tagjai részére
Főszerkesztő: Kóger László, Szerkesztés: Biliczky István, Kiadás: Szécsényi Lajos
RMK Nosztalgia Rádió Egyesület székhelye: 1800Bp., Bródy S. u. 5-7. Elnök: Kóger László tel.: (06-30) 378-6633 kogerradio@citromail.hu |
Dokumentumok :: Nosztalgia Rádió Hírújság
2010.12.19