Kétcsöves hálózati késülék 1930
Budapesten a helyi vevő lehallgatására, vidéken pedig az erősebb állomások vételére alkalmas a következőkben leirt készülék. Budapesten szelektivitása nem elegendő arra, hogy a Lakihegyi-adő adásideje alatt külföldi állomásokat is lehessen venni, de nem is célja.
A készülék teljesen hálózati, tehát ugy izzitóáramát, mint anódáramát a hálózatbői kapja. Az izzitóáramot a készülékbe beépített transzformátor szolgáltatja, az anódáramot pedig bármely anődkészülék.
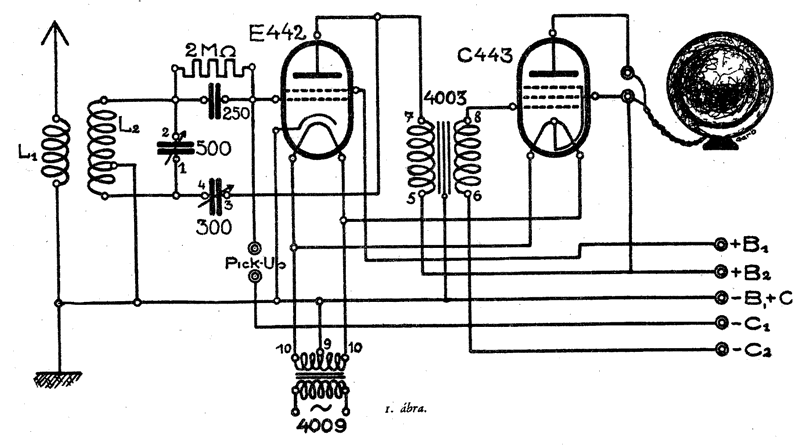
Az 1. ábra mutatja a kapcsolási vázlatot. Mint látható, az első fokozat visszacsatolt audion, a második pedig hangfrekvenciaerősitő. A kapcsolás Hartley-rendszer és a visszatolás szabályozása egy 300 cm-es bakelit-forgókondenzátorral, a behangolás pedig egy 500 cm-es bakelit-forgókondenzátorral történik. Antennatekercsnek és anődtekercsnek kosárfenékfonásu tekercset használtunk.

Az antennatekercs L1, úgyszintén a rácstekerc L2 kétszer selyemmel szigetelt huzalból van készítve. Menetszámai a következők:
L1 10, vagy 20 menet. Ha az antenna hosszabb, vagy nagyobb szelektivitást akarunk elérni, akkor a 10 menet számot használjuk, ha nagyobb hangerősséget akarunk elérni, vagy a szelektivitás nem fontos, ugy a 20 menetszámot használjuk. L2 tekercs menetszáma 60 és leágazása van a 10 menetnél a visszacsatolás számára.
A készülék különlegessége az, hogy audioncsőnek az E442 árnyékoltrácsu csövet használtuk fel. Ezáltal lényegesen nagyobb hangerőt értünk el, mint a rendes audioncsővel, mert hiszen sikerült kihasználnunk az árnyékoltrácsu csőnek óriási erősítését és emellett még jobb detektorhatást is tudtunk elérni.
Az árnyékoltrácsu cső, anódfeszültségét ugyanolyan nagyra lehet venni, mint a végerősitőcsövét, kb. 160 voltra, a segédrácsfeszültséget pedig anódfeszültség felére.
Az audion után transzformátoros csatolásban következik a végerősitőcső. Készülékünkbe a C443 csövet használtuk végerősítőnek.
A készülék kezelése igen egyszerű. Csöveket és tekercseket bedugjuk a foglalatokba és a két anódfeszültség és az előfészültségnek megfelelő vezetéket az anódkészülékhez kötjük. Ha a hálózati dugaszokat konnektorba dugjuk, ugy a készülék már üzemképes.
Hangereje igen jó, a helyi vevőt erős hangszőróvételben hozza. Vidéken lomást Jő hangszóróvételben hozni.



ALKATRÉSZEK
1 drb. előlap 160x230x5 mm. bakelit-lemez,
1 drb. alaplap 110X220x5 mm. bakelit-lap,
1 drb. 300 cm.-es bakelit-fórgókondenzátor,
1 drb. 500 cm.-es bakelit-forgókondenzátor,
1 drb. Philips 4009 izzitótranszformátor,
1 drb. antennatekercs,
1 drb. rácstekercs,
1 drb. 250 cm. blokkondenzátor,
1 drb. 2 megohmos Loewe-ellenállás,
1 drb. Philips 4003 hangfrekvenciatranszformátor
1 drb. E442 árnyékoltrácsucső,
1 drb. C443 végerősitőcső,
1 drb. 4-eres hálózati zsinór, szerelési anyagok, csavarok, hüvelyek, anyák, huzal; szigeteld, varnishüvely.
Forrás: Rádiórevű 1930/10.sz
RMK Nosztalgia Rádió Egyesület lapja - Megjelenik kéthavonta, ingyenesen az Egyesület tagjai részére
Főszerkesztő: Kóger László, Szerkesztés: Biliczky István, Kiadás: Szécsényi Lajos
RMK Nosztalgia Rádió Egyesület székhelye: 1800Bp., Bródy S. u. 5-7. Elnök: Kóger László tel.: (06-30) 378-6633 kogerradio@citromail.hu |
Dokumentumok :: <1930, Dokumentumok :: Nosztalgia Rádió Hírújság
2012.1.15