STANDARD PRIMA 2022- Prima U 2020
A Standard Prima érdekessége, hogy a gyár utolsó 2+1-es audion készüléke volt, a gyár 1940 után már nem gyártott egyenes vevőt. Ennek megfelelően ezen a típuson megláthatjuk mindazt, ami az egyenes vevők fejlődése során egy 2+1-bői ki tudott hozni a Standard gyár. Ez a Standardnál 15 évet jelent, ha a Tungsram időszakot is hozzávesszük. Büszkék is voltak rá, az 1939-40-es sorozatot el is nevezték Jubileumi sorozatnak. Ezt bőséges reklámozással a nagyközönség tudomására is hozták, sőt, általánosan reklámjaikban szinte nagyképű módon hangoztatták, hogy az elmúlt 15 évben Magyarországon csak a Standard gyártott rádiót. Pedig azért az Orion és a többi cég is tudott „időnként" jó rádiót készíteni. Úgy látszik a reklámvilág akkor sem volt különb a mainál, persze az ilyesmire manapság mi igen edzettek vagyunk. Na de, a Standardnak megbocsátjuk, mert tényleg igen jó és szép készülékeket gyártott, elég csak a kis Primának a külsejét-belsejét megtekinteni.

Külsőre egész „felnőtt" rádiónak néz ki, a családelvnek köszönhetően nagyon hasonlóak a kicsi és nagy típusok ennél az évjáratnál, ezért ugyanolyan elegáns, mint mondjuk a Szuper 40-es, csupán a mérete kisebb. Azért nem olyan kicsi a Prima sem. A Standard egyébként minden évben tudott újítani, minden ősszel nagyon szép új külsővel ruházta fel készülékeit.
A Prima az előző évjáratú Ideál továbbfejlesztése volt, és készült egyen-váltó „U" kivitelben is. Mint kis típus nyilván a széles nagyközönség részére gyártották, nagyobb darabszámban, ami persze relatív, ez kb. 20 ezres szériát jelentett, az „U" kivitelnél valószínűsíthető a 10 ezres széria. Sokan ismerik a Standard 15 év című gyári kiadványt, mely az 1938-as évjárattól tájékoztatást ad a gyártási számokról. Sajnos csak az 1940-41-es évjárattól ad pontos gyártott mennyiségeket, az 1939-40-es évjáratnál csak a kezdő gyártási sorozatszámot adja meg. Ebből következtetni lehet, első ránézésre nagynak tűnő sorozatra. Viszont figyelembe kell venni, hogy a Standard gyártotta az EKA készülékek sassziját is, így a sorozat egy része (általában a vége) az EKA gépekbe került. A régebbi típusoknál ezt külön egy „E" betűvel is jelölték. Később már nem. Tehát a Primánál is le kell vonni az EKA készülékekre jutó részt, 031 ezertől az EKA 2140-es sasszikat számozták. Így a Prima U-nál, 10 ezernél több nem készülhetett. A Primánál nekem kicsit soknak tűnik a kikövetkeztethető 20 ezres darabszám, persze ennek pontosításához kérném a gyári számokat a tisztelt Prima tulajdonosoktól. Mivel azért a Prima nem olyan gyakori darab, az is lehet, hogy nem ment végig a sorozat a lehetséges 20 ezres szériáig, mivel ahhoz képest túl kevés maradt belőle. A bemutatott példány gyári száma: 002515, az U-nál 021434, a gyári kiadvány segítségével megállapítható a váltóáramú Prima az 1515-ödik darabot jelenti, az „U" kivitel pedig a 434-es példány. Tehát a minél nagyobb számú példányok lennének érdekesek a gyártási darabszám megállapításához. A Primák alapára 200 Pengő körül volt, az U-é 215 Pengő, ez szinte azonos volt a többi gyár hasonló készülékeivel. Ez az összeg egyébként kb. 1-2 havi fizetését jelentette egy jó szakmunkásnak.

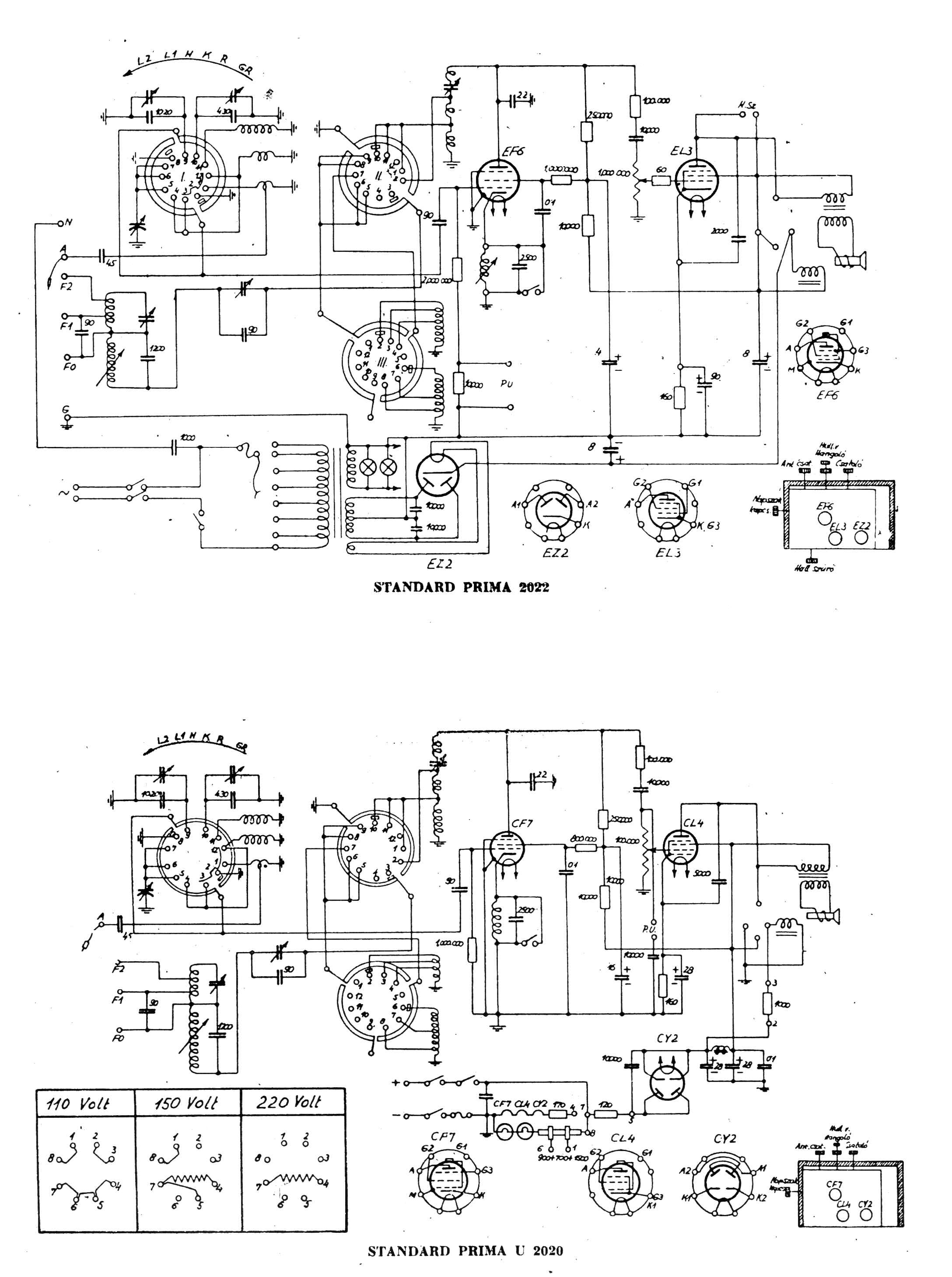
Külsőre a Prima tényleg szép készülék, gyönyörű diófurnérozást kapott, a készülékház igényes asztalosipari munka. A fekete-aranyozott díszlécek és a magasfényű lakkozás jelentősen emelik a küllemet. A tervezőnek jó ízlése volt. A hangszóróvászon durvább szövésű szürkés-barnás anyag, csak ennél az évjáratnál használták. A skála felülete nagyobb, mint a hangszóróvászoné, a Standardnál a 2+1-eseknél meg lehet figyelni, éveken át egyre nagyobb lett a skála mérete, ennek tetőpontját a Prima érte el. Ezért is tűnik komoly nagy „felnőtt" készüléknek. Itt színes először a szép nagy skála, KH-fehér, RH-piros, HH érdekes módon narancssárga, még „nem találtak rá" a zöldszínre. A kezelőgombok balról jobbra: hangerő szabályzás (mert itt már az is van!) + hálózati kapcsoló, középső nagy gomb az állomáskereső, külső gomb hullámváltó, jobbszélső visszacsatolás, jobb oldalt pedig egy új kezelőszerv az éjjel-nappal kapcsoló.
Ez négyféle külön gombot jelent, a két szélső egyforma újfajta rézbetétes gomb, melyet később éveken át használt a gyár. Száma 4200 DY, és ezen kívül van egy MX5019 számozása is, az MX jelzésű gombokat a Marosi Pál bakelitüzeme szállította. Ez a cég rengeteg féle gombot gyártott az amatőrök részére és úgy látszik a Standardnak is gyártott megrendelésre. A középső nagy gomb még a régifajta bordás gomb, ez első ránézésre nem is illik ide, pedig ez így gyári, az új rézbetétesnek nem volt ilyen nagyméretű átmenő tengelyes verziója, így kénytelenek voltak a régi fajtát használni. Száma a gyári kiadvány szerint 4203 BY, de a jelzés nincs a gombon. A hullámváltó egyedi eset, feliratozott, I. II. narancs, fehér, piros karika, GR felirat, a színes karikák a skálán a megfelelő hullámkörzetet jelzik, a római egy-kettő pedig a BP. I., BP II. külön két programállását, mert ezen a készüléken ez is van! Az oldalsó gomb is érdekes eset, háromállású, olyan mint a hullámváltóé, csak ennek az éle jelzett színekkel. Funkciója éjjel-nappal kapcsoló, a térerő különbség miatt az antennajelet osztja, az antennatekercs leágazásait kapcsolja az antennára. A korabeli leírás szerint jól használható esti éjszakai nagyobb térerő esetén a túlvezérlés ellen. Ezt régen az A1-A2-A3 bemenetekkel szokták megoldani, itt luxusmegoldásként egy kapcsolóra kötötték, így egyszerűbb kezelni. Az élén a színek sárga, narancs, piros. A gomb oldalát eltakarja egy fémperem, melynek nyílásán látható a megfelelő szín. A pirosnak felel meg a legérzékenyebb állás. A gomboknak nincs jelzése a hullámváltónak sem, a gyári kiadvány szerint a hullámváltó száma 4207 BY/D1, az antennakapcsolóé 4207/BX/D2.
Eddig a Prima a Prima U teljesen megegyezett, a hátlapnál már van különbség, tulajdonképpen egyformák csak az U-nál el van látva egyen-váltó jelzéssel is. A feliratok csak rövidítések. A fenéklap viszont tényleg más, a váltóáramúnál a szokásos lyukacsos fémlap, az U-nál a hátlappal azonos barna karton. Ez igaz csak részben, de takarja a sasszi rögzítő csavarokat, mely érintésvédelmi szempontból fontos az U kivitelnél.

A hátlapot levéve nagyon korrekt szerkezetet láthatunk. Érdekesség: a készülékház belülről le van festve világosszürkére. Ez a jubileumi sorozat jellegzetessége. A hangszóró is szürke, száma CY 3100/DA, rajta a kimenőtrafó, száma BY 5207/CA, az U-nál hangszóró DY 3100/DC, kimenőtrafó BY 5207/CB. A sasszi szürkére festett, az U-nál az antenna és egyéb hüvelyek bakelitlapja kívülre került. Szembetűnő a papírházas elkó, az U-nál van még egy kisebb is. A hálózati transzformátor mindenféle feszültségre átkapcsolható. Az U-nál a helyén egy fojtótrafó található, a feszültség átkapcsolást egy csőfoglalatba dugható dugóval lehet végezni. 110 V-nál ez csak egy rövidzár dugó, 150 V-nál és 220 V-nál előtét ellenállás is rá van építve a dugóra. A képen a 110 V-os dugó látható.
A forgókondenzátor nagyméretű, jó minőségű, a tengelyével bevált megoldásként szabályozható az antennacsatolás is. Az EF6 audioncső árnyékolóbúrát kapott, e nélkül begerjedhet. A sasszi egész elejét beborítja a skála hátsó tükörlemeze, mely felül egy lemezcsíkkal a készülékházhoz rögzíthető. A skála két izzóval van megvilágítva, az U kivitelnél a két izzó közé van kötve a feszültségejtő ellenállás. A Prímánál is láthatjuk a szép rézcsavarokat, a huzalozás piros pamuthuzal. Kondenzátorok a gyári Standard blokkok és Hoges kerámia kondenzátorok. Rezgőkörök vasmagosak, a hullámcsapdák is.
Ellenállások sötétbarna Remixek, U kivitelnél az előtét ellenállások huzalos nagyteljesítményűek. A skálahúr Már vékony kivitel. Lássuk, mit mutat az utolsó Standard 2+1-es egyenesvevő kapcsolása. A váltóáramú és U kivitel lényegileg azonos, csupán a Feszültségtáplálás szempontjából különbözik. Az Audion és a végcső közé hangerő potméter lett beépítve. Az audion katódkörében kikapcsolható módon egy szűrő van beépítve, mellyel a helyi adót lehet kiszűrni. Két hullámcsapda a BP l-re és külön BP ll-re vagy másra állítható módon.
A hullámcsapdák gondosan vannak megtervezve, illetve kivitelezve. Külön kapcsolótárcsával állítható az antennacsatolás. Külön állásként, mint külön két programként beállítható a BP I., BP II. Az EZ2 Közvetett fűtésű egyenirányítócső kíméli az anódszűrő elkókat. A Prima el van látva külön hangszóró kimenettel, az U kivitel nincs. Szerencsére két szép állapotú példányt tudok
bemutatni a képeken. A váltóáramú kivitel már fel van újítva, az U kivitel még nincs, de szerencsére annyira eredeti és jó állapotban van, hogy bemutatható volt lapunkban. Kényes pont ennél a típusnál is a külső állapot, hátlap, fenéklap megléte, a gombok eredetisége. A hangszóró pótolható esetleg másik Standard gépből is. A vászon jó anyag, szerencsére mindkét gépen eredeti. A csövek pótlása nem gond, csak a CL 4 számít ritkább típusnak. A skála is jó minőségű, még nem került után gyártásra, még nem volt rá igény, vagy azért, mert jó minőségű, vagy mert
nem maradt olyan sok ebből a típusból.
A felújítás során az alapos tisztításon kívül csupán a papírházas elkót kellett felújítani, illetve a trafó Anódköri 10 nF kondenzátorokat kellett cserélni. Ezeken kívül a készüléken minden eredeti. Kb. 10 év után elővéve a felújított példánynak kivételesen szép hangja van, jól lehet vele rádiózni. A májusi börzén természetesen mindkét kivitel megtekinthető lesz.
Kóger László


RMK Nosztalgia Rádió Egyesület lapja - Megjelenik kéthavonta, ingyenesen az Egyesület tagjai részére
Főszerkesztő: Kóger László, Szerkesztés: Biliczky István, Kiadás: Szécsényi Lajos
RMK Nosztalgia Rádió Egyesület székhelye: 1800Bp., Bródy S. u. 5-7. Elnök: Kóger László tel.: (06-30) 378-6633 kogerradio@citromail.hu |
Dokumentumok :: Nosztalgia Rádió Hírújság, Dokumentumok :: Restaurálás
2010.5.4