|
|
Siemens 20B - návod na renováciu a schéma rádia
(c) 2008 Viktor Cingel
Doporučujeme ďalšie články: Tesla T120, Ladenie superhetu, Napájací zdroj pre opravu batériových rádií, Renovácia kovových elektróniek, Cenník elektróniek 1940.
Tento prijímač je na prvý pohľad zaujímavý tým, že je naprosto vizuálne rovnaký, ako neskôr vyrábaná Tesla T120. Zaujímavosťou prijímača Philips 20B je osadenie kovovými batériovými elektrónkami DCH11, DF11, DAF11 a DL11. Tesla T120 je osadená radom U, ale je v rovnakom šasí (uvidíte neskôr na obrázkoch). Rovnaké schéma na spomínané batériové elektrónky má aj prístroj Siemens 22B. V tomto návode na renováciu a opravu sa postupne dozviete to ako opraviť značne poškodenú dýhovanú skrinku, ako opraviť lakované šasí a ako uviesť do prevádzky batériové rádio, ktoré vyniká po konštrukčnej stránke značnou kvalitou, typickou pre rádia nemeckých výrobcov.
1. Popis prístroja a schéma zapojenia
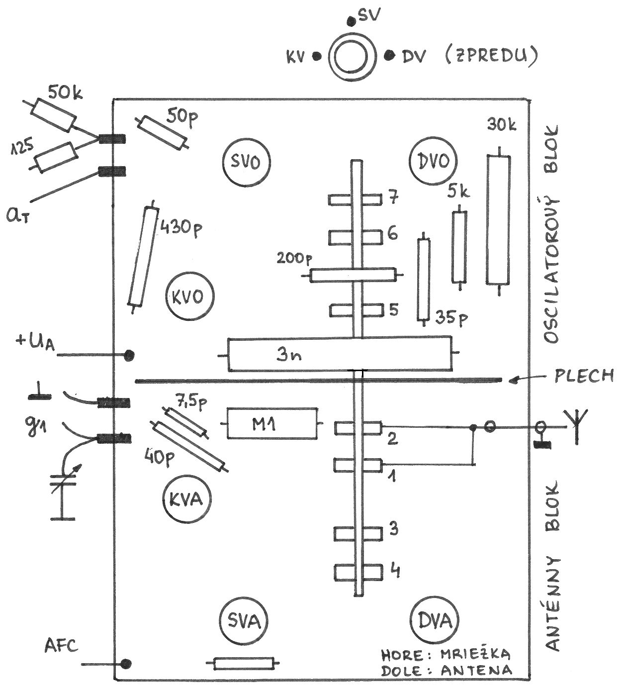
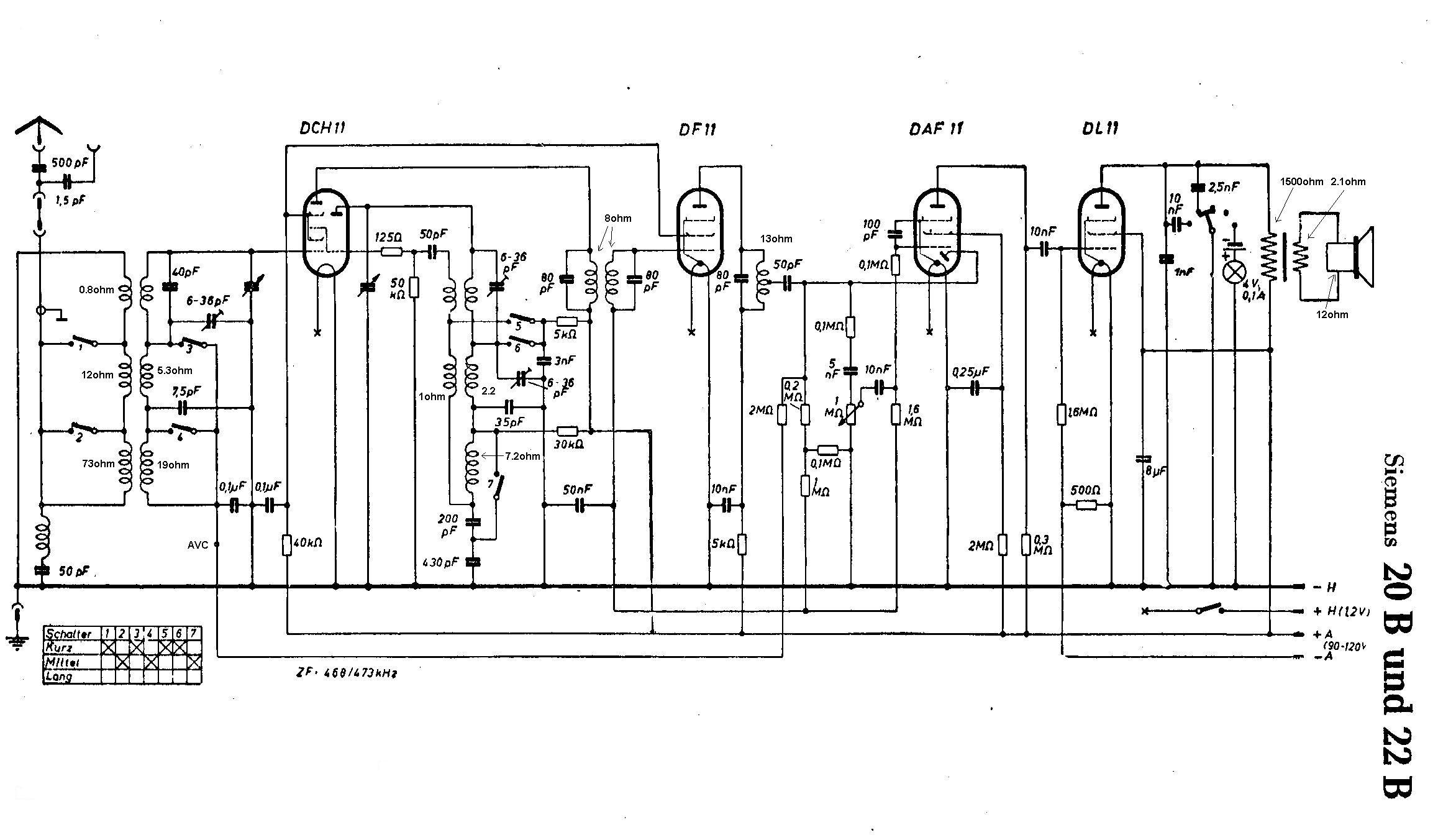
Ide o batériový superhet, s mf=468kHz. Anténa sa v rádiu môže zasunúť menej alebo viac skrátená. Vo vstupnom anténnom bloku vzadu v prijímači sú dve zdierky pre anténu, uzemnenie a je tam aj odlaďovač, s ktorým nehýbte, je kvalitný, tak jeho rozladenie nepredpokladám. Prívod antény ide tieneným káblikom do cievkovej súpravy (cievková súprava je popísaná detailne ďalej). Mriežka heptódy DCH11je naviazaná na cievky priamo bez kondenzátora, preto musia byť všetky cievky v poriadku aby sa na mriežku dostalo predpätie z AVC. Oscilátor je pomerne jednoduchý, za zmienku stojí dlhovlnná cievka, ktorá nemá vlastné budenie, lebo budenie je už zabezpečené vinutím na SV cievke. Kondenzátory v cievkovom agregáte sú kvalitné, keramické, trubičkové. Štyri boli vymenené, najdôležitejšie sú padingové kondenzátory 200pF a 430pF, tie musia byť presné. Celá konštrukcia cievkového agregátu je na nasledujúcich obrázkoch. V schéme sú doplnené aj ohmické odpory namerané na jednotlivých cievkach (digitálnym ohmetrom). Stredné vlny som skontroloval signálnym generátorom, boli naladené na 510kHz - 1660kHz. Dlhé som neladil, lebo aj tak tam hrá len Radiojournal, a KV boli naladené v poriadku.
MF zosilňovač je klasickej konštrukcie, s DF11, za zmienku stojí že na anóde DF11 je len jednoduchá pásmová priepusť, nie MF transformátor. Ladenie MF transformátora a priepuste bolo trošku komplikované, po presnom naladení, prístroj je náchylný na vf oscilácie a pískanie, tak trochu treba rozladiť pásmovú priepusť tesne do bodu keď už väzba nie je kritická a celkový MF sa nerozkmitá. Detekciu zabezpečuje dióda v DAF11 a nf predzosliňovač tvorí pentóda v DAF11. Anódový odpor 0,3M bol odpálený, tak bol vymenený za 1W odpor M33. Rovnako bol vymemený aj väzobný kondenzátor 10nF.
V schéme nájdete aj odmerané ohmické odpory výstupného transformátora, má pomerne veľkú vstupnú impedanciu, reproduktor je 12 ohmový. Zaujímavo je riešený obvod pre osvetlenie stupnice, zabezpečuje ho vstavaná plochý 4,5V batéria s vypínačom a žiarovočkou. Skontrolujte aj 8 mikroF elektrolytický kondenzátor, ktorý je pripojený na anódové napätier a zem. Ak je zlý, prístroj je náchylný na "štekanie" a pískanie.
Schému nájdete v knihe Empfanger Schaltungen, Der Radioindustrie, Band: VIII. Tu priložená schéma je z tohto zdroja, doplnená o informácie namerané na prístroji a referencujúce obrázok s konštrukciou cievok.
Schéma zapojenia
 | Konštrukcia cievok
 | Stupnica
 |
2. Nálezový stav
Rádio bolo kompletné, ale poškodené. Po dôkladnej kontrole boli na rádiu nájdené tieto nedostatky:
- chýbajúca dýha na okrasnom lištovaní vpredu,
- značne skorodované šasí,
- zohnuté plechy na otočnom kondenzátore,
- spálený anódový odpor na DAF11- M3,
- väzobný kondenzátor 10nF so zvodom,
- v cievkovom agregáte prerušené DV anténne cievky,
- chýbajúce dva kondenzátory v oscilátorovom obvode,
- chybný padding kondenzátor 430pF,
- prepálený odpor 30k do anódy triódového oscilátoru,
- trochu rozladený mf zosilňovač,
- pokazená DF11 (prepálené vlákno)
Nálezový stav si môžete prezrieť na niekoľkých fotografiách ďalej.

Skrinka v nálezovom stave s chýbajúcou dýhou.

Po elektronickej stránke takmer v poriadku, znečistené. Prívodné káble na batérie originálne.

Šasí je lakované bledošedým lakom. V nálezovom stave bolo silne skorodované. Blok odlaďovača bez poškodenia.
3. Oprava skrinky
Dýha chýbala na dosť problémovom mieste, na ozdobnej profilovej lište vpredu. Celková oprava skrinky prebehla v týchto krokoch (ďalej ilustrované obrázkami):
- Okraje chýbajúcej dýhy sa opatrne nožíkom zarovnali a odstránili, aby vznikli čisté hrany. Masívne drevo pod dýhou sa očistilo od starého lepidla (vodou a šmirglom).
- Z orechovej dýhy sa narezali v priečnom smere kúsky asi 5 cm široké (širší len tak ľahko nepozohýňate do daného profilu). Pri spájaní v 45 stupňovom uhle sa dva kúsky zarezali do 45 stupňov.
- Na lisovanie ohybu bola použitá dubová lišta inverzného profilu, ako je ozdobné lišta. Buď si ju vyfrézujete alebo ja som použil hotovú rohovú parketovú lištu, ktorá presne pasovala. Tiež sa zarezala do 45 stupňov.
- Na drevo aj na dýhu sa naniesol Chemoprén Extrém a nechal sa 15 min zaschnúť.
- Po pritlačení dýhy tesne na hranu sa o dýhu oprela prítlačná lišta a malinkými klinčekami sa pribila k rádiu. Prakticky nebolo možné použiť svorky, lebo lišty sú pod uhlom a mnohé svorky vypadávali.
- Takto sa každý deň nalisovala dýha asi na 10 cm, postupne pomaly. Po troch dňoch bola na tri krát dobre prilepená a prítlačné lišty sa odstránili.
- Dýha sa jemne, v smere letokruhov prebrúsila, najpr zrno 100 a na záver 240. Do hladka sa zahladila mäkkou brúsnou hubkou o zrne 240. Aj celá skrinka sa prebrúsila jemným šmirgľom o zrne 240.
- Do špár a pórov sa natlačil drevotmel, orechový a tiež sa viackrát až do hladka prebrúsil.
- Morilo sa odtieňom orech svetlý priamo na dýhu.
- Po vyschnutí sa celá skrinka prestriekala matným lakom. Lak po zaschnutí sa ešte raz prebrúsil šmirgľom o zrne 400.
- Záverečná úprava bola ľanovým olejom, skrinka dostala lesk, ktorý časom dostane pätinu.
- Vnútro skrinky sa poumývalo vlažnou vodou, vysušili na slnku a jemne prestriekalo matným lakom.
Okraje a stará dýha sa očistila o nánosov lepidla.

Krok za krokom sa pritláčala a lepila dýha na kritické miesto. Na dolnom ráme už vidno nalepenú dýhu.

Dýha sa niekoľkorát prebrúsila, na záver do hladka s hubkou.

Toto je detail spojenia starej dýhy a novej dýhy. Okrem toho vidno zrenovovaný gombík, v ktorom sa musel obnoviť zlatý prúžok a rímske číslice.
4. Renovácia šasí
Originálne šasí ako aj držiak na batériu sú zhotovené z oceľového plechu a lakované bledošedým lakom. Vyššie ste mohli vidieť šasí dosť skorodované. Jeho renovácia prebehla v týchto krokoch:
- Elektrónky sa vybrali, odmontovalo sa aj koliesko na ladiacom kondenzátore a výstupné trafo.
- Šasí sa namočilo do horúcej vody a saponátom a zubnou kefkou sa umyly všetky nánosy špiny, mastnoty a prachu. Potom sa šasí opláchlo prúdom (sprchou) vlažnej vody. Nechalo sa na slnku uschnúť celý deň.
- Hrubá korózia sa obrúsilia šmirgľom o zrne 100-120. Následne sa mosadnou kefkou dokončilo brúsenie. Dávajte pozor na hliníkové kryty a bakelit, aby ste ich viditeľne neobrúsili.
- Hliníkové kryty (elektrolyt, mf, ladiaci kondenzátor) sa preleštili SIlichrómom.
- Potom sa všetky časti, vrátane pätíc, káblikov, výstupné trafo a pod. zakryli žltou páskou, ktorú používajú maliari (môžete vidieť dole na obrázku).
- Na obrúsený povrch sa natrel malým štetcom antikorózny náter Hamerrite (alebo podobný). Ten po zaschnutí sa prebrúsil opatrne šmirglom o zrne 240 a hubkou.
- Po odprašnení sa celý povrch prestriekal lakom v spreji, bledošedým. Aby sa dosiahla pätina, tak treba trochu použiť aj nejaký iný, najlepšie veľmi bledý zelenkavý odtieň a z diaľky len tak trochu streknúť akokeby povrch mal zelenkavú pätinu. Striekať treba súčasne, aby sa farby zliali.
- Po zaschnutí, pásku odlepíme a ak niekde farba strekla kde nemala, tak vatou na špajdličke a acetónom, dočistíte farbu, ktorá nemá byť viditeľna (napr. ak sa trochu strekne na okraj pätice, alebo na mosadzný nit a pod.).
- Šedým lakom sa prestiekal aj držiak na plochú baterku.
- Ešte sa prestriekalo aj tienitko za stupnicou, to je lakované svetlobéžovým lakom.
- Po vrátení kolieska na ladiacom kondenzátore a prišroubovaní výstupného trafa môže začať elektrická oprava.
Dôkladné prekrytie maliarskou krycou páskou.

Hotové, vyčistené a preleštené šasí. Ako z fabriky :)
5. Elektrická oprava
Ide o batériový prijímač, ktorý nemá napájanie, tak je potrebné najprv si pripraviť potrebný zdroj. Na žeravenie sa dajú použiť aj dva veľké monočlánky 1,5V, zapojené paralélne, ale lepšie je použiť náhradný zdroj, pretože 1,5V je trochu veľa na elektrónky. Ich žeraviace napätie je 1,2V. Ďalší zdroj je anódový, 90V. Na oživovanie v mojom prípade používam náhradný napájací zdroj.
Celý postup elektrickej orpavy možno zhrnúť do týchto kľúčových bodov:
- Najprv sa pri vypnutom prijímači prekontrolovali ohmetrom všetky odpory, a vymenili sa prepálené alebo chýbajúce. Odpory v prijímači sú Siemens svetločervenej farby. Dajú sa pomerne pekne nahradiť svetločervenými Always.
- Svitkové kondenzátory sú obyčajne v poriadku, lebo nie sú vystavené veľkému napätiu. Jedine sa vymenil väzobný kondenzátor 10nF a vložil sa do starej trubičky po kondenzátore, ktorý sa dal jemným nahriatím vybrať. Elektrolyt bol v poriadku, nie je kritický, pokiaľ je dobrý zdroj. Svitkové kondenzátory sú Siemens.
- Rozbité a chýbajúce keramické trubičkové kondenzátory boli nahradené kondenzátormi Philips, 4ks v cievkovom agregáte a jeden kus 100pF v detektore.
- Potenciometer ako aj prepínače sa očistili Kontoxom na kontakty.
- Museli sa vyrovnať asi 4 plechy v rotore kondenzátora, lebo boli dosť pokrivené.
- V cievkovom agregáte boli prerušené DV prívody v anténnej cievke. Dajú sa pomerať ohmetrom a priletovať na svoje miesto. Nákres nájdete vyššie v súbore.
- Najprv sa oživila NF časť DL11a DAF11. Išlo to bez problémov, zosilňovač hneď pracoval, nepískal, dával výkon asi 0,5W na plné vybudenie bez skreslenia. Lepšie sa oživuje na originálny reproduktor, lebo náhradný mal 8 Ohmov, čo je menej ako originálny 12 ohmov, a zaťažoval elektrónku.
- MF časť sa oživila s náhradnou elektrónkou 1F33, naletovanú do pätici po starej elektrónke radu 11 (pozri obrázok dole). Zladila sa pomocou generátora na 468kHz. Ako už bolo spomínané, presné naladenie, s dobrou mf elektrónkou a dobrou DCH11, dáva veľmi kritickú väzbu a celý MF sa rozkmitá. Kmitanie sa prejavuje tak, že na diode DAF11 nameriate -6V AVC, čo je určite zle. Má tam byť asi -0,5V. Meria sa digitálnym voltmetrom. Kmitanie sa dá ľahko pozrieť aj osciloskopom na anóde detektora DAF11.
- Bol vymenený padding kondenzátor, zostavil sa z dvoch keramických kondenzátorov na presnú hopdnotu 430pF (merané kapacitomerom).
- Po kontrole vstupných obvodov (prekontroloval som SV), sa pripojil oscilátor a doladil som nižší kmitočet, tak aby sa ozval prijímaný kmitočet 510kHz a vyšší kmitočet 1660kHz. tj.ladil som v bodoch zhody 602kHz a 1500kHz (polohu ladiaceho kondenzátora a vstupu som našiel pomocou signálneho generátora). Prijímač je veľmi citlivý a preto v dnešnej dobe, keď mám na SV asi 5 staníc, toto naladenie bohate postačuje. DV a KV sa neladili, lebo dávali pomerne dobrý výsledok (rozumej tým na DV Radiojournal veľmi hlasno a potom nič, a na KV v 50m pásme desiatky staníc.)
Šasí po oprave, vidno vymemené oranžové keramické kondenzátory, originálne boli tmavo-čierno-zelené.

Namiesto DF11 bola v originálnej pätici použitá 1F33.
6. Finalizácia
Pre dôkladné zostavenie prístroja bolo treba ešte spraviť tieto "kozmetické" veci:
- očistiť originálny štvorfarebný napájací opletaný kábel, naletovať ho na správne body v prístroji a na koncovky priletovať banániky a očká. Na koncoch boli prichitené hliníkové štítky s označením napätia (pozri obrázok ďalej).
- Vysávačom sa očistil brokát a preleštilo sa logo.
- Gombíky sa dôkladne umyli v saponáte a zlatou farbou sa štecom namalovali odlúpené zlaté nápisy.
- Natiahlo sa ladiace lanko a nastavila sa správne ručička na okraji pásma.
- Do prístroja sa vložila plochá batéria (bude ju treba prelepiť okrasným papierom nejakého starého výrobcu, napr. Baterie Pála, Slaný).
- Kovové elektrónky sa očistili od korózie a zreštaurovali. Postup nájdete v samostatnom článku.
Potom sa to všetko skompletizovalo a vyhutnávala sa hudba. Rádio hrá bez brumu, je veľmi "mäkké! pri ladení, tak ako to býva pri batériových superhetoch.

Originálne opletané káble a koliky a očká na batérie.

Brokát a logo Siemens

Sfinalizovaný prístroj

Kompletná zostava, aj s plochou batériou. Vidno aj elektrodynamický reproduktor s permamentným magnetom.

Zadná stena má veľa podrobností o zapojení prístroja, v piatich jazykoch. Svedčí to o tom že prístroj sa dosť exportoval.
Dokumenty :: Poradenstvo, Dokumenty :: Renovácie, Dokumenty :: Schémy zapojenia
Vytvorené: 14.9.2008
|